ГОСТ 21924.1-84 Плиты железобетонные предварительно-напряженные для покрытий городских дорог. Конструкция и размеры
ГОСТ
Скачать ГОСТ в PDF или DOC бесплатно
Основная информация
Обозначение:
ГОСТ 21924.1-84
Статус:
Заменен
Тип:
ГОСТ
Название русское:
Плиты железобетонные предварительно-напряженные для покрытий городских дорог. Конструкция и размеры
Название английское:
Rainforced concrete prestressed slabs for pavements of city roads. Structure and dimensions
Даты и сроки
Дата издания:
01-01-02
Дата введения в действие:
01-01-85
Дата завершения срока действия:
08-01-24
Применение и описание
Область и условия применения:
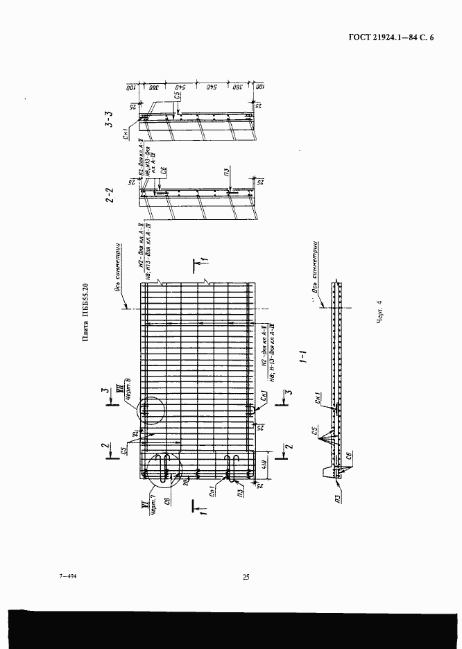
Настоящий стандарт распространяется на железобетонные предварительно напряженные плиты, изготовляемые из тяжелого бетона и предназначенные для устройства покрытий постоянных и временных городских дорог под автомобильную нагрузку Н-30 и Н-10, и устанавливает конструкцию этих плит
Связи и замены
Заменяющий:
ГОСТ 21924-2024
Изменения и переиздания
Список изменений:
№1 от (рег. ) «Срок действия продлен»
Описание стандарта
ГОСТ 21924.1-84 Плиты железобетонные предварительно-напряженные для покрытий городских дорог. Конструкция и размеры
Страницы стандарта













