ГОСТ 24694-81 Тройник железобетонный лотковых оросительных систем. Технические условия
ГОСТ
Скачать ГОСТ в PDF или DOC бесплатно
Основная информация
Обозначение:
ГОСТ 24694-81
Статус:
Действует
Тип:
ГОСТ
Название русское:
Тройник железобетонный лотковых оросительных систем. Технические условия
Название английское:
Reinforced concrete T-joint of flumed irrigation systems. Specifications
Даты и сроки
Дата издания:
08-18-81
Дата введения в действие:
01-01-82
Дата завершения срока действия:
-
Применение и описание
Область и условия применения:
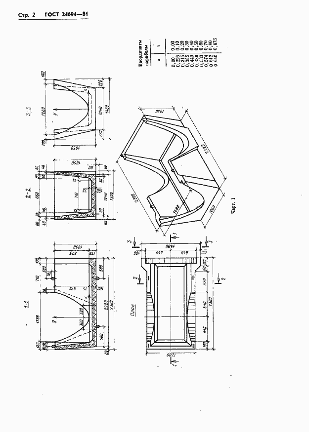
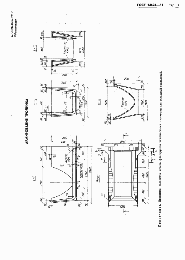
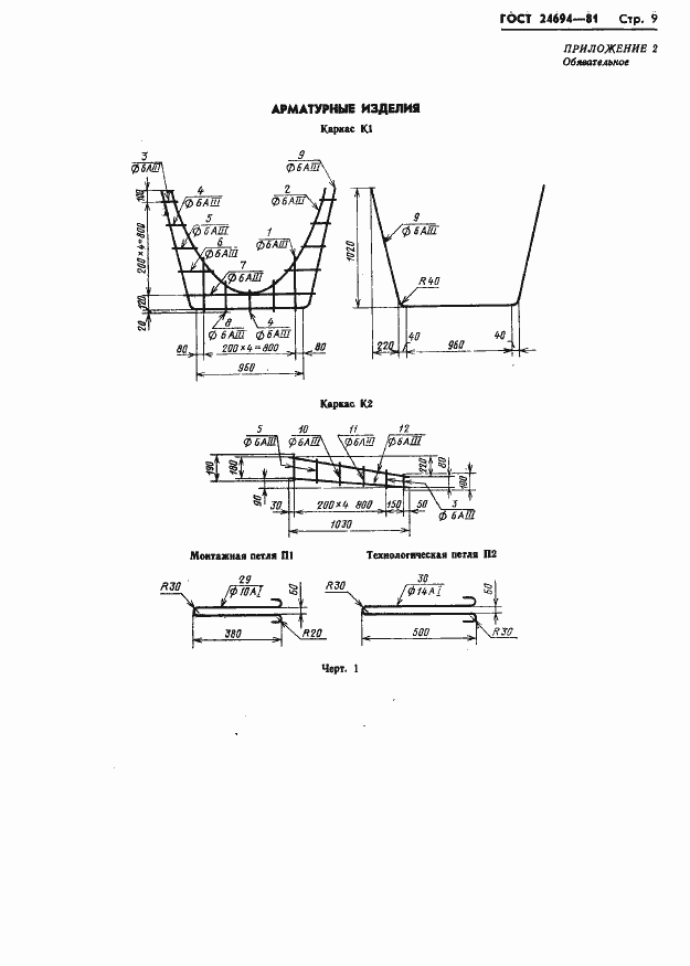
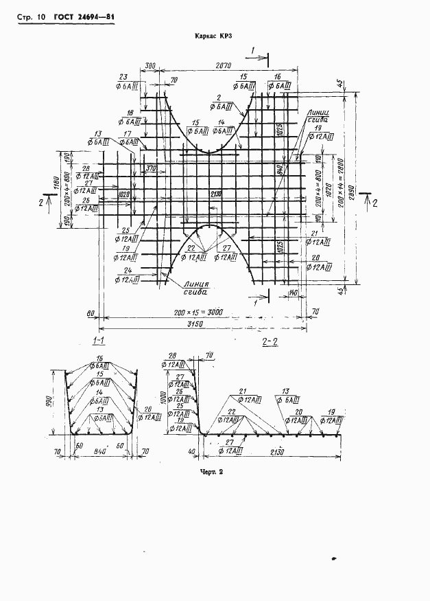
Настоящий стандарт распространяется на железобетонные тройники из тяжелого бетона, предназначенные для устройства вододелителей на распределительных каналах оросительных систем с уклонами меньше критических, сооружаемых из железобетонных раструбных лотков параболического сечения высотой 400, 600 и 800 мм. Настоящий стандарт не распространяется на тройники вододелителей распределительных каналов оросительных систем, сооружаемых в районах с сейсмичностью более 8 баллов
Связи и замены
Заменяющий:
-
Описание стандарта
ГОСТ 24694-81 Тройник железобетонный лотковых оросительных систем. Технические условия
Страницы стандарта













