ГОСТ 25628-90 Колонны железобетонные для одноэтажных зданий предприятий. Технические условия
ГОСТ
Скачать ГОСТ в PDF или DOC бесплатно
Основная информация
Обозначение:
ГОСТ 25628-90
Статус:
Заменен
Тип:
ГОСТ
Название русское:
Колонны железобетонные для одноэтажных зданий предприятий. Технические условия
Название английское:
Reinforced concrete columns for single-storey industrial buildings. Specifications
Даты и сроки
Дата издания:
06-06-90
Дата введения в действие:
01-01-91
Дата завершения срока действия:
01-01-17
Применение и описание
Область и условия применения:
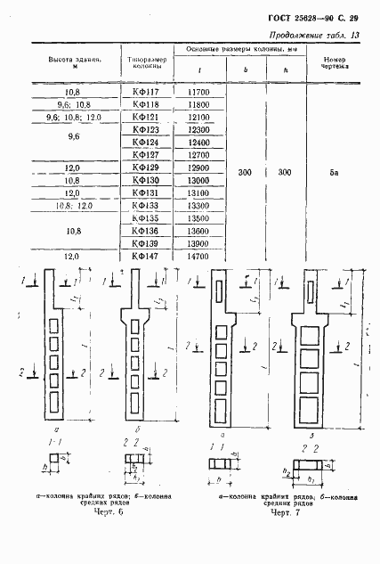
Настоящий стандарт распространяется на железобетонные колонны сплошного прямоугольного поперечного сечения и двухветвевые, изготовляемые из тяжелого бетона и предназначенные для каркасов одноэтажных зданий предприятий всех отраслей промышленности и народного хозяйства, за исключением зданий гражданского строительства
Связи и замены
Заменяющий:
ГОСТ 25628.1-2016
Взамен:
ГОСТ 25628-83
Описание стандарта
ГОСТ 25628-90 Колонны железобетонные для одноэтажных зданий предприятий. Технические условия
Страницы стандарта


































