ГОСТ 25912.0-91 Плиты железобетонные предварительно напряженные ПАГ для аэродромных покрытий. Технические условия
ГОСТ
Скачать ГОСТ в PDF или DOC бесплатно
Основная информация
Обозначение:
ГОСТ 25912.0-91
Статус:
Действует
Тип:
ГОСТ
Название русское:
Плиты железобетонные предварительно напряженные ПАГ для аэродромных покрытий. Технические условия
Название английское:
Reinforced concrete prestressed slabs PAG for aerodrome pavement. Specifications
Даты и сроки
Дата издания:
09-06-91
Дата введения в действие:
01-01-92
Дата завершения срока действия:
-
Применение и описание
Область и условия применения:
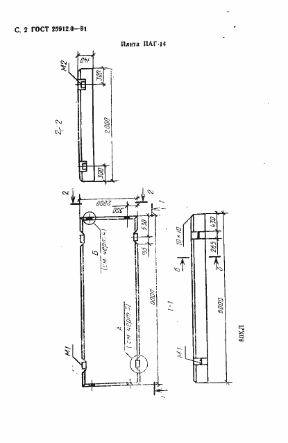
Настоящий стандарт распространяется на предварительно напряженные плиты ПАГ размерами 6х2 м, изготовляемые из тяжелого бетона и предназначенные для устройства сборных аэродромных покрытий
Связи и замены
Заменяющий:
ГОСТ 25912-2015
Взамен:
ГОСТ 25912.0-83
Изменения и переиздания
Список изменений:
№0 от (рег. ) «Восстановлен на территории РФ»
Описание стандарта
ГОСТ 25912.0-91 Плиты железобетонные предварительно напряженные ПАГ для аэродромных покрытий. Технические условия
Страницы стандарта


















