ГОСТ 26992-86 Прогоны железобетонные для покрытий зданий промышленных и сельскохозяйственных предприятий. Технические условия
ГОСТ
Скачать ГОСТ в PDF или DOC бесплатно
Основная информация
Обозначение:
ГОСТ 26992-86
Статус:
Заменен
Тип:
ГОСТ
Название русское:
Прогоны железобетонные для покрытий зданий промышленных и сельскохозяйственных предприятий. Технические условия
Название английское:
Reinforced purlins for roofings in industrial and agricultural buildings. Specifications
Даты и сроки
Дата издания:
12-29-86
Дата введения в действие:
01-01-87
Дата завершения срока действия:
06-01-17
Применение и описание
Область и условия применения:
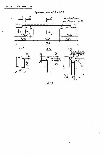
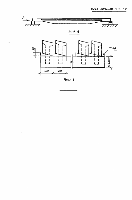
Настоящий стандарт распространяется на железобетонные прогоны таврового сечения длиной 6 м с переменной высотой стенки, изготовляемые из тяжелого бетона и предназначенные для применения в покрытиях зданий промышленных и сельскохозяйственных предприятий при уклоне кровли до 5 и до 25 % включительно
Связи и замены
Заменяющий:
ГОСТ 26992-2016
Описание стандарта
ГОСТ 26992-86 Прогоны железобетонные для покрытий зданий промышленных и сельскохозяйственных предприятий. Технические условия
Страницы стандарта



















