ГОСТ 27108-86 Конструкции каркаса железобетонные для многоэтажных зданий с безбалочными перекрытиями. Технические условия
ГОСТ
Скачать ГОСТ в PDF или DOC бесплатно
Основная информация
Обозначение:
ГОСТ 27108-86
Статус:
Заменен
Тип:
ГОСТ
Название русское:
Конструкции каркаса железобетонные для многоэтажных зданий с безбалочными перекрытиями. Технические условия
Название английское:
Reinforced concrete framework structures for multi-storeyed industrial buildings with floors without beams. Specifications
Даты и сроки
Дата издания:
03-18-87
Дата введения в действие:
06-30-87
Дата завершения срока действия:
06-01-17
Применение и описание
Область и условия применения:
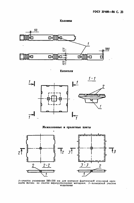
Настоящий стандарт распространяется на сборные железобетонные конструкции каркаса зданий с безбалочными перекрытиями, изготовляемые из тяжелого бетона и предназначенные для многоэтажных производственных и складских зданий промышленных и сельскохозяйственных предприятий. Стандарт не распространяется на конструкции, предназначенные для зданий с расчетной сейсмичностью 7 баллов и более, а также для зданий, возводимых на просадочных грунтах и на подрабатываемых территориях
Связи и замены
Заменяющий:
ГОСТ 27108-2016
Описание стандарта
ГОСТ 27108-86 Конструкции каркаса железобетонные для многоэтажных зданий с безбалочными перекрытиями. Технические условия
Страницы стандарта


























