ГОСТ 28042-89 Плиты покрытий железобетонные для зданий предприятий. Технические условия
ГОСТ
Скачать ГОСТ в PDF или DOC бесплатно
Основная информация
Обозначение:
ГОСТ 28042-89
Статус:
Заменен
Тип:
ГОСТ
Название русское:
Плиты покрытий железобетонные для зданий предприятий. Технические условия
Название английское:
Reinforced concrete roofings for enterprises buildings. Specifications
Даты и сроки
Дата издания:
01-01-89
Дата введения в действие:
01-01-90
Дата завершения срока действия:
01-01-15
Применение и описание
Область и условия применения:
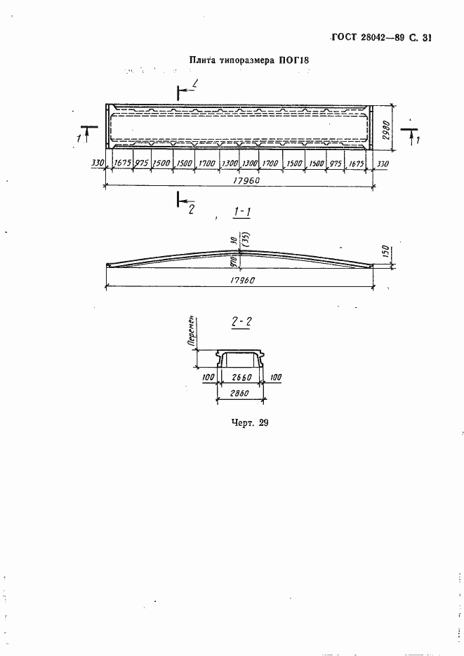
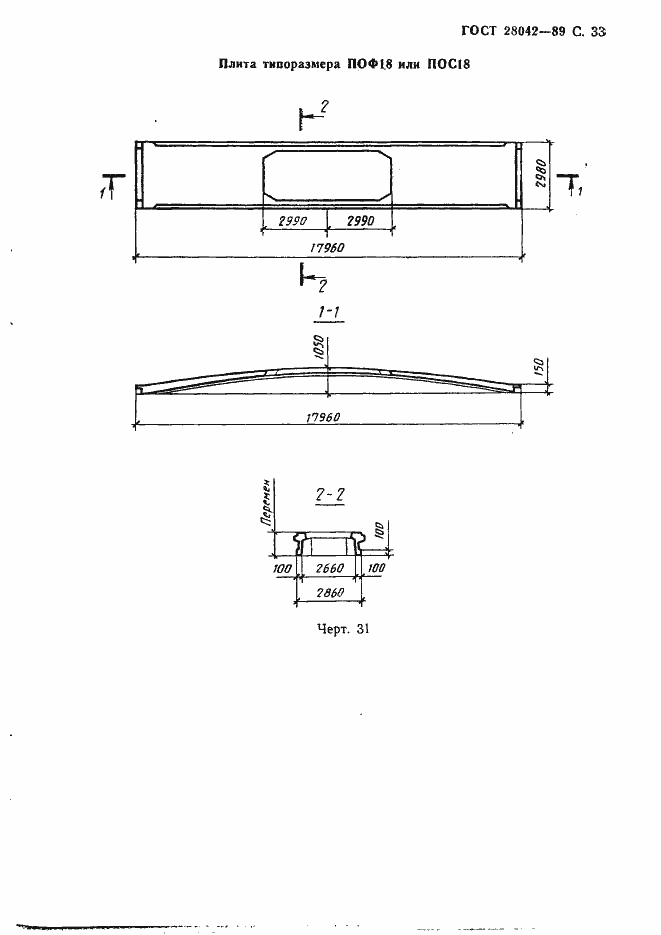
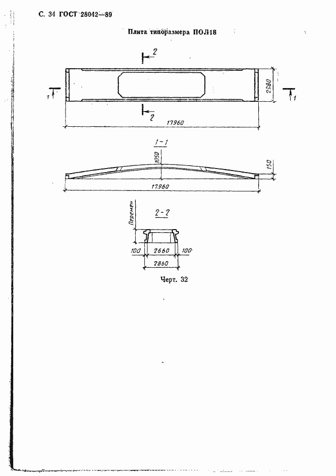
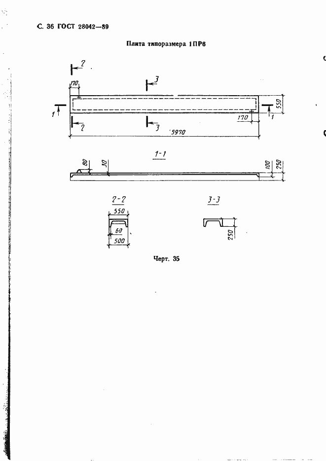
Настоящий стандарт распространяется на железобетонные ребристые и плоские плиты, изготовляемые из тяжелого или конструкционного легкого бетона и предназначенные для несущей основы кровли зданий предприятий всех отраслей промышленности и народного хозяйства, за исключением зданий гражданского строительства (жилых и общественных)
Связи и замены
Заменяющий:
ГОСТ 28042-2013
Описание стандарта
ГОСТ 28042-89 Плиты покрытий железобетонные для зданий предприятий. Технические условия
Страницы стандарта















































