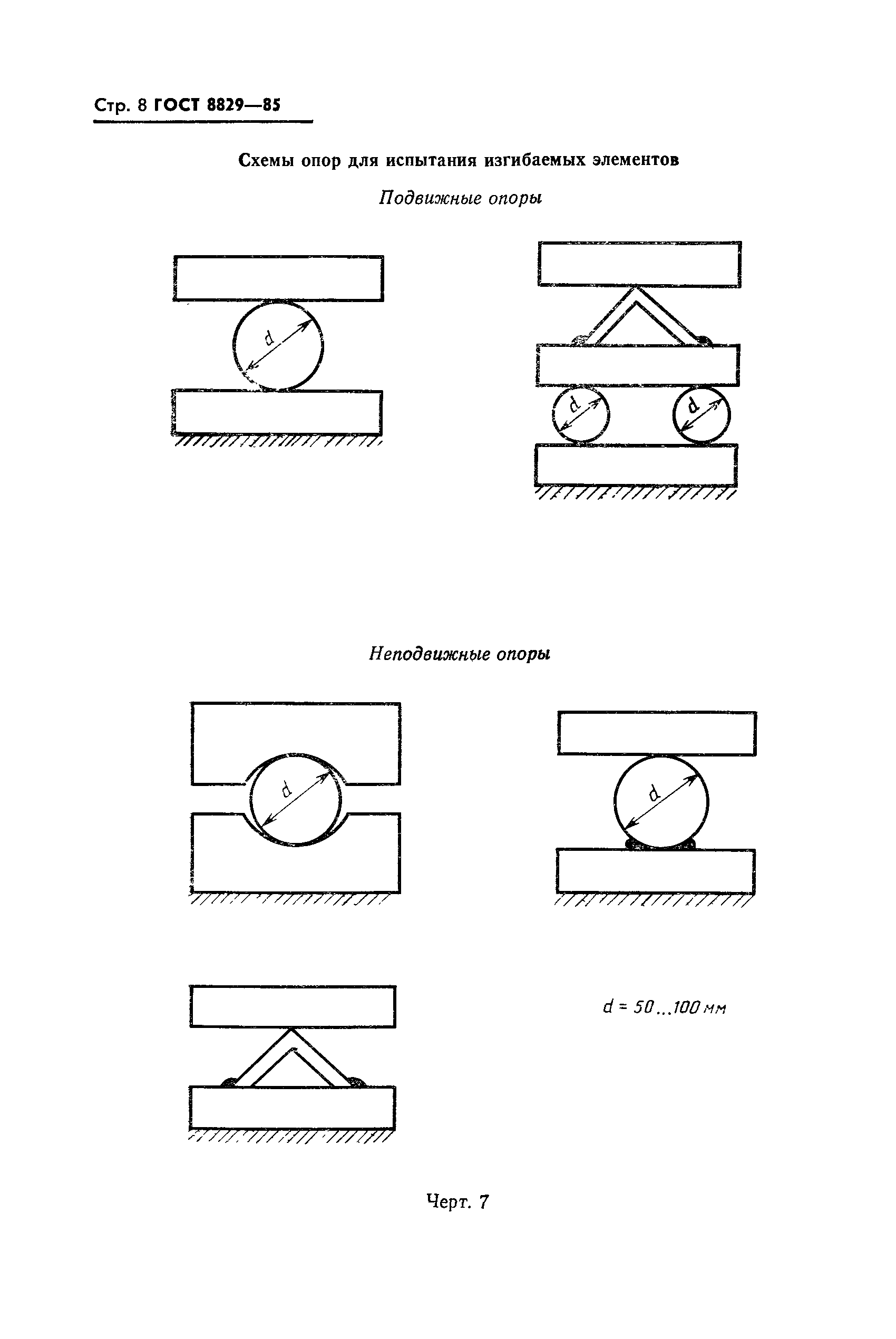
ГОСТ 8829-85 Конструкции и изделия бетонные и железобетонные сборные. Методы испытаний нагружением и оценка прочности, жесткости и трещиностойкости
ГОСТ
Скачать ГОСТ в PDF или DOC бесплатно
Основная информация
Обозначение:
ГОСТ 8829-85
Статус:
Заменен
Тип:
ГОСТ
Название русское:
Конструкции и изделия бетонные и железобетонные сборные. Методы испытаний нагружением и оценка прочности, жесткости и трещиностойкости
Название английское:
Prefabricated reinforced concrete structures and elements. Methods of testing and estimation of strength, rigidity and resistance to cracking
Даты и сроки
Дата издания:
05-07-85
Дата введения в действие:
01-01-86
Дата завершения срока действия:
01-01-98
Связи и замены
Заменяющий:
ГОСТ 8829-94
Взамен:
ГОСТ 8829-77
Описание стандарта
ГОСТ 8829-85 Конструкции и изделия бетонные и железобетонные сборные. Методы испытаний нагружением и оценка прочности, жесткости и трещиностойкости
Страницы стандарта

























