ГОСТ 25912-2015 Плиты железобетонные предварительно напряженные для аэродромных покрытий. Технические условия
ГОСТ
Скачать ГОСТ в PDF или DOC бесплатно
Основная информация
Обозначение:
ГОСТ 25912-2015
Статус:
Действует
Тип:
ГОСТ
Название русское:
Плиты железобетонные предварительно напряженные для аэродромных покрытий. Технические условия
Название английское:
Prestressed reinforced concrete slabs for aerodrome pavement. Specifications
Даты и сроки
Дата регистрации:
02-27-15
Дата издания:
06-11-15
Дата введения в действие:
07-01-15
Дата завершения срока действия:
-
Применение и описание
Область и условия применения:
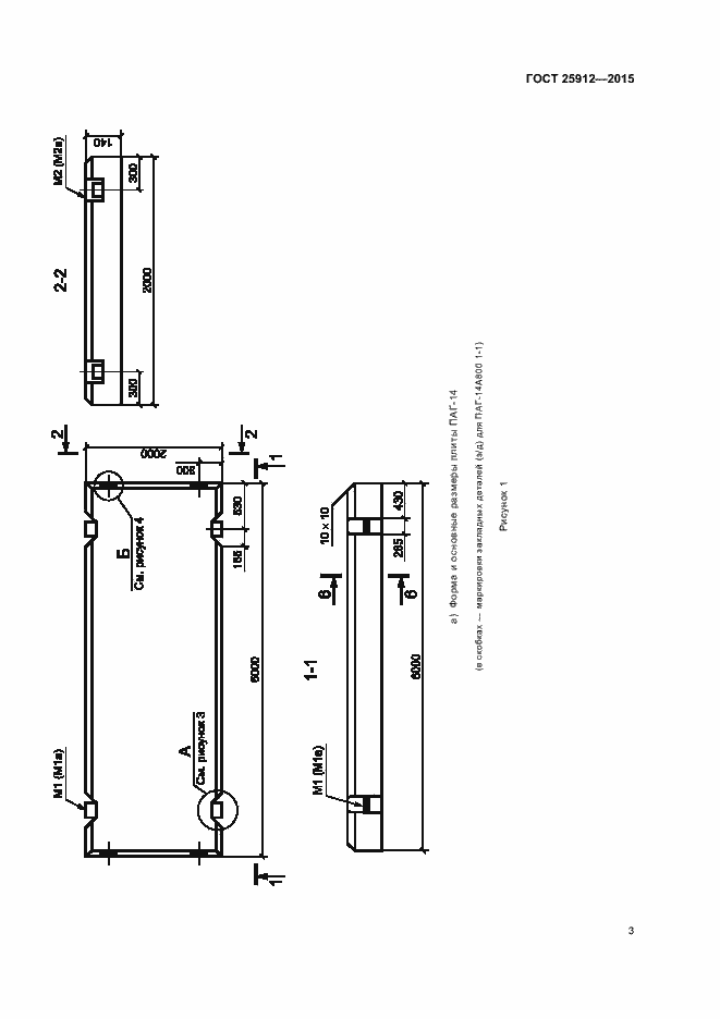
Настоящий стандарт распространяется на предварительно напряженные железобетонные плиты, изготовляемые из тяжелого бетона и предназначенные для устройства быстровозводимых сборных покрытий аэродромов, дорог, площадок для складирования, в том числе, рекомендуемых к применению в тяжелых условиях температурно-влажностного режима холодного климата и вечномерзлых грунтов
Связи и замены
Заменяющий:
-
Взамен:
ГОСТ 25912.0-91;ГОСТ 25912.1-91;ГОСТ 25912.2-91;ГОСТ 25912.3-91;ГОСТ 25912.4-91
Описание стандарта
ГОСТ 25912-2015 Плиты железобетонные предварительно напряженные для аэродромных покрытий. Технические условия
Страницы стандарта


































