ГОСТ Р 55658-2013 Панели стеновые с деревянным каркасом. Технические условия
ГОСТ Р
Скачать ГОСТ в PDF или DOC бесплатно
Основная информация
Обозначение:
ГОСТ Р 55658-2013
Статус:
Действует
Тип:
ГОСТ Р
Название русское:
Панели стеновые с деревянным каркасом. Технические условия
Название английское:
Panels wall with the wooden framework. Specifications
Даты и сроки
Дата издания:
12-09-19
Дата введения в действие:
05-01-14
Дата завершения срока действия:
-
Применение и описание
Область и условия применения:
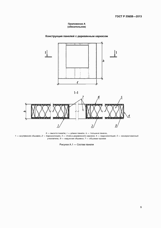
Настоящий стандарт устанавливает технические требования к стеновым панелям с деревянным каркасом и методы их контроля. Стандарт распространяется на ненесущие панели, предназначенные для применения в составе многослойных ограждающих конструкций (фасадных систем) жилых и общественных зданий. Марки панелей, их размеры, пожаротехнические и теплотехнические характеристики определяются при проектировании фасадной системы
Связи и замены
Заменяющий:
-
Описание стандарта
ГОСТ Р 55658-2013 Панели стеновые с деревянным каркасом. Технические условия
Страницы стандарта


















Приложение №1: Изменение №1 к ГОСТ Р 55658-2013 Обозначение: Изменение №1 к ГОСТ Р 55658-2013 Дата введения в действие: 01.06.2021

Приложение №1: Изменение №1 к ГОСТ Р 55658-2013 Обозначение: Изменение №1 к ГОСТ Р 55658-2013 Дата введения в действие: 01.06.2021
