ГОСТ 28042-2013 Плиты покрытий железобетонные для зданий и сооружений. Технические условия
ГОСТ
Скачать ГОСТ в PDF или DOC бесплатно
Основная информация
Обозначение:
ГОСТ 28042-2013
Статус:
Действует
Тип:
ГОСТ
Название русское:
Плиты покрытий железобетонные для зданий и сооружений. Технические условия
Название английское:
Reinforced concrete roofings slabs for industrial buildings. Specifications
Даты и сроки
Дата регистрации:
11-14-13
Дата издания:
09-01-14
Дата введения в действие:
01-01-15
Дата завершения срока действия:
-
Применение и описание
Область и условия применения:
Настоящий стандарт устанавливает технические требования, методы контроля и правила приемки, транспортирования и хранения железобетонных ребристых и плоских плит из тяжелого или конструкционного легкого бетона. Плиты применяют в покрытиях зданий предприятий всех отраслей промышленности и народного хозяйства, за исключением жилых и общественных зданий
Связи и замены
Заменяющий:
-
Взамен:
ГОСТ 28042-89
Изменения и переиздания
Список изменений:
№0 от (рег. ) «Дата введения перенесена»
Описание стандарта
ГОСТ 28042-2013 Плиты покрытий железобетонные для зданий и сооружений. Технические условия
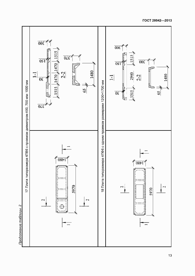
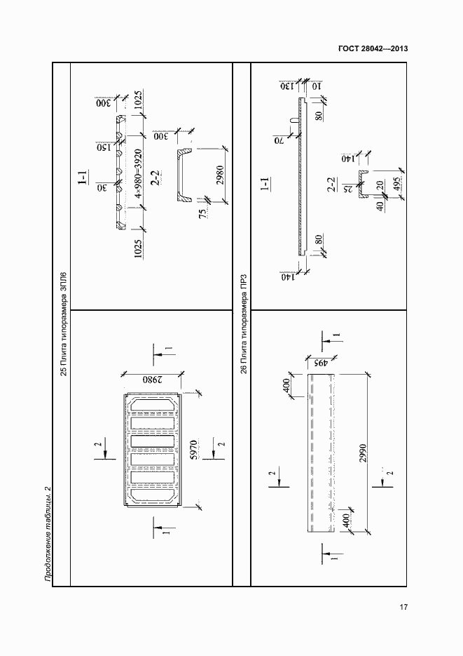
Страницы стандарта





























Приложение №1: Изменение №1 к ГОСТ 28042-2013 Обозначение: Изменение №1 к ГОСТ 28042-2013 Дата введения в действие: 01.06.2025

Приложение №1: Изменение №1 к ГОСТ 28042-2013 Обозначение: Изменение №1 к ГОСТ 28042-2013 Дата введения в действие: 01.06.2025

Приложение №1: Изменение №1 к ГОСТ 28042-2013 Обозначение: Изменение №1 к ГОСТ 28042-2013 Дата введения в действие: 01.06.2025

Приложение №1: Изменение №1 к ГОСТ 28042-2013 Обозначение: Изменение №1 к ГОСТ 28042-2013 Дата введения в действие: 01.06.2025

Приложение №2: Поправка к ГОСТ 28042-2013 Обозначение: Поправка к ГОСТ 28042-2013 Дата введения в действие: 04.05.2016
