ГОСТ 24544-81 Бетоны. Методы определения деформаций усадки и ползучести
ГОСТ
Скачать ГОСТ в PDF или DOC бесплатно
Основная информация
Обозначение:
ГОСТ 24544-81
Статус:
Заменен
Тип:
ГОСТ
Название русское:
Бетоны. Методы определения деформаций усадки и ползучести
Название английское:
Concretes. Methods of shrinkage and creep flow determination
Даты и сроки
Дата издания:
11-01-87
Дата введения в действие:
01-01-82
Дата завершения срока действия:
06-01-21
Применение и описание
Область и условия применения:
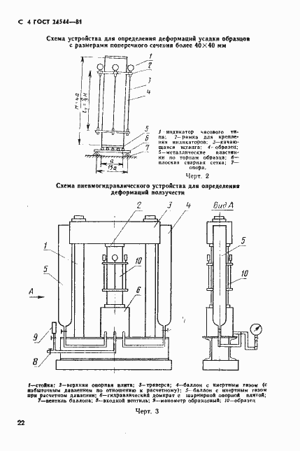
Настоящий стандарт распространяется на все виды цементных, а также силикатных бетонов, применяемых в промышленном, энергетическом, транспортном, водохозяйственном, жилищно-гражданском и сельскохозяйственном строительстве, в том числе на бетоны, подвергающиеся в процессе эксплуатации нагреву, насыщению водой или нефтепродуктами
Связи и замены
Заменяющий:
ГОСТ 24544-2020
Изменения и переиздания
Список изменений:
№1 от (рег. ) «Срок действия продлен»
Описание стандарта
ГОСТ 24544-81 Бетоны. Методы определения деформаций усадки и ползучести
Страницы стандарта

























