ГОСТ 26589-94 Мастики кровельные и гидроизоляционные. Методы испытаний
ГОСТ
Скачать ГОСТ в PDF или DOC бесплатно
Основная информация
Обозначение:
ГОСТ 26589-94
Статус:
Действует
Тип:
ГОСТ
Название русское:
Мастики кровельные и гидроизоляционные. Методы испытаний
Название английское:
Roofing and waterproof mastics. Methods of testing
Даты и сроки
Дата регистрации:
03-17-94
Дата издания:
01-10-96
Дата введения в действие:
01-01-96
Дата завершения срока действия:
-
Применение и описание
Область и условия применения:
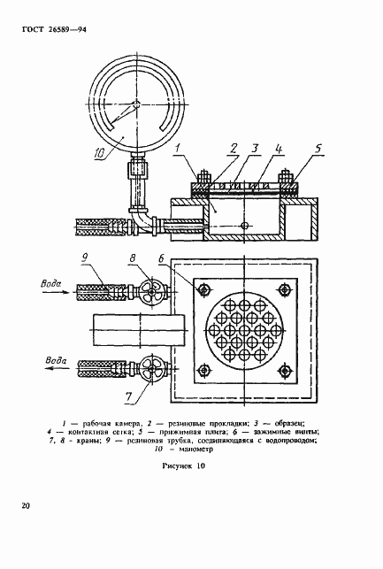
Настоящий стандарт распространяется на кровельные и гидроизоляционные мастики, предназначенные для приклеивания рулонных кровельных и гидроизоляционных материалов, устройства защитных слоев кровель, устройства и ремонта мастичных кровель, устройства мастичных слоев гидроизоляции строительных конструкций, зданий и сооружений, и устанавливает методы испытаний
Связи и замены
Заменяющий:
-
Взамен:
ГОСТ 26589-85
Описание стандарта
ГОСТ 26589-94 Мастики кровельные и гидроизоляционные. Методы испытаний
Страницы стандарта



































