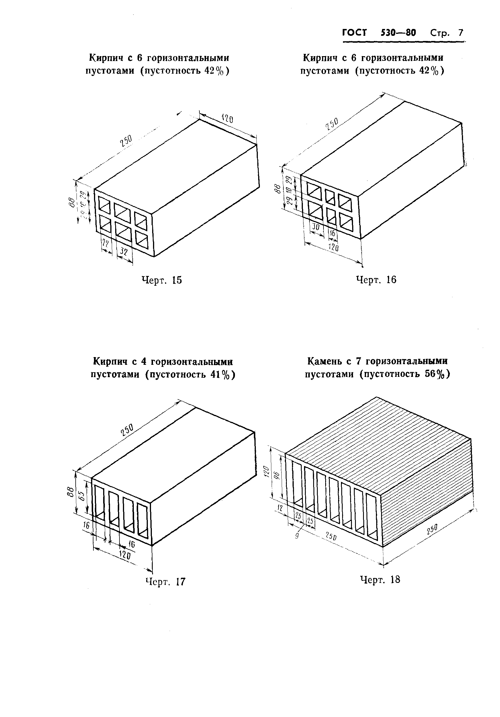
ГОСТ 530-80 Кирпич и камни керамические. Технические условия
ГОСТ
Скачать ГОСТ в PDF или DOC бесплатно
Основная информация
Обозначение:
ГОСТ 530-80
Статус:
Заменен
Тип:
ГОСТ
Название русское:
Кирпич и камни керамические. Технические условия
Название английское:
Glay ordinary brick
Даты и сроки
Дата введения в действие:
01-01-82
Дата завершения срока действия:
07-01-96
Связи и замены
Заменяющий:
ГОСТ 530-95
Взамен:
ГОСТ 530-71;ГОСТ 6316-74;ГОСТ 648-73
Описание стандарта
ГОСТ 530-80 Кирпич и камни керамические. Технические условия
Страницы стандарта
















