ГОСТ 6133-99 Камни бетонные стеновые. Технические условия
ГОСТ
Скачать ГОСТ в PDF или DOC бесплатно
Основная информация
Обозначение:
ГОСТ 6133-99
Статус:
Заменен
Тип:
ГОСТ
Название русское:
Камни бетонные стеновые. Технические условия
Название английское:
Concrete wall stone. Specifications
Даты и сроки
Дата регистрации:
12-02-99
Дата издания:
01-01-01
Дата введения в действие:
01-01-02
Дата завершения срока действия:
03-01-20
Применение и описание
Область и условия применения:
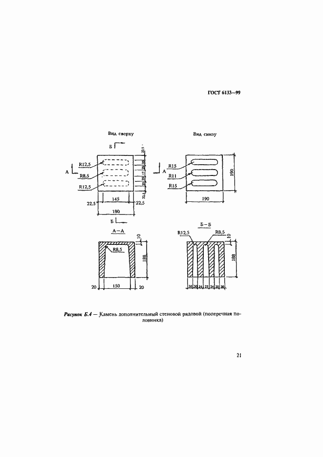
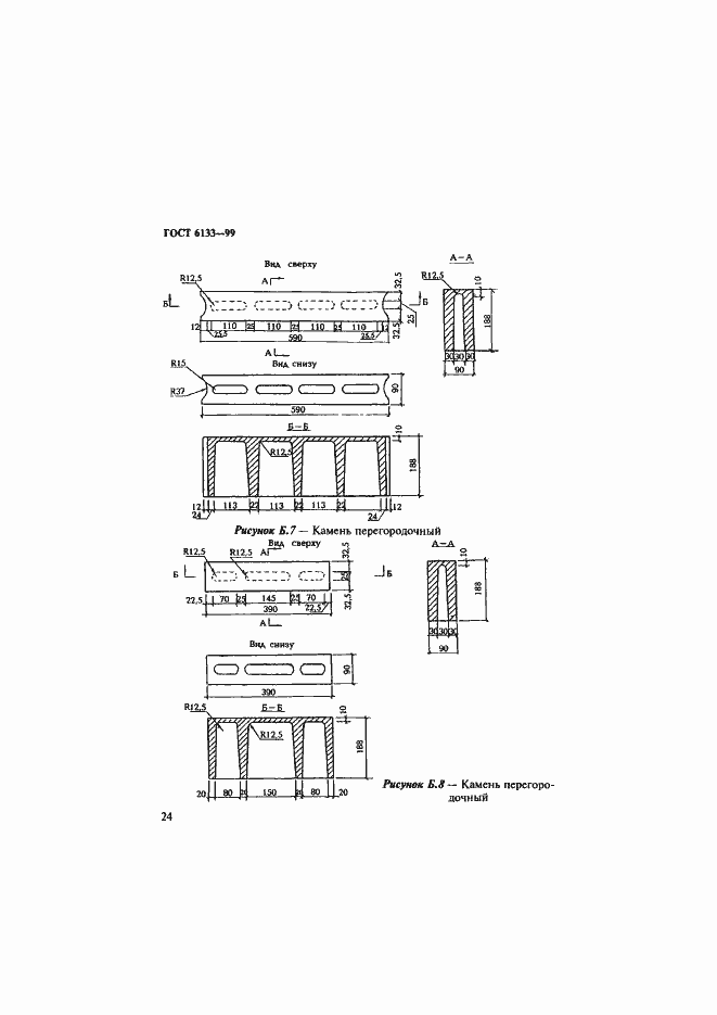
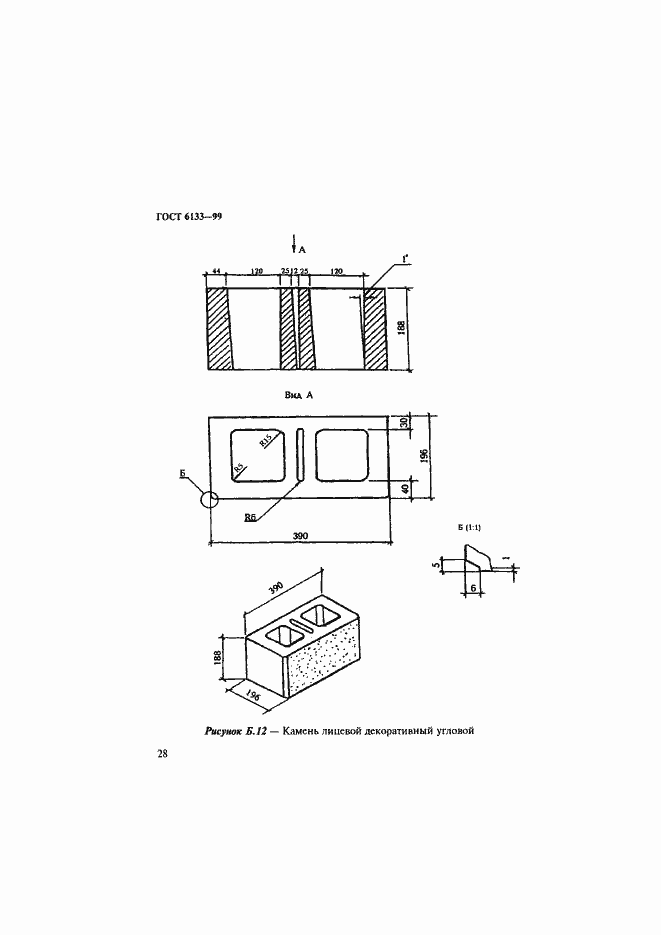
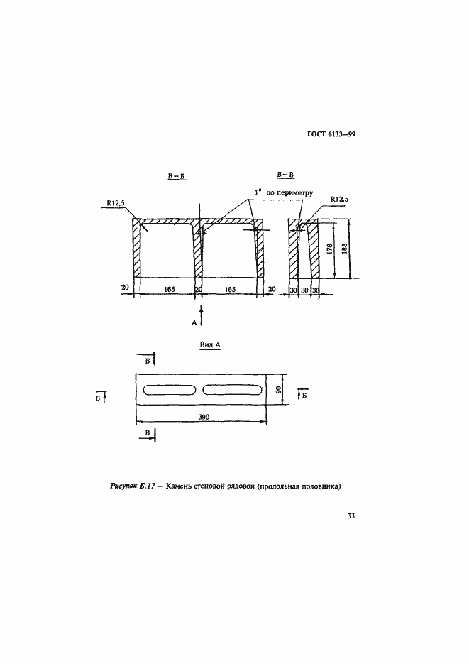
Настоящий стандарт распространяется на стеновые бетонные камни, изготовленные вибропрессованием, прессованием, формованием или другими способами из легких, тяжелых и мелкозернистых бетонов. Камни применяют в соответствии с действующими строительными нормами и правилами при возведении стен и других конструкций зданий и сооружений различного назначения
Связи и замены
Заменяющий:
ГОСТ 6133-2019
Взамен:
ГОСТ 6133-84
Изменения и переиздания
Список изменений:
№0 от (рег. ) «Дата введения перенесена»
Описание стандарта
ГОСТ 6133-99 Камни бетонные стеновые. Технические условия
Страницы стандарта











































Приложение №1: Поправка к ГОСТ 6133-99 Обозначение: Поправка к ГОСТ 6133-99 Дата введения в действие: 01.07.2002
