ГОСТ Р 58063-2018 Магистральный трубопроводный транспорт нефти и нефтепродуктов. Геомодули. Общие технические условия
ГОСТ Р
Скачать ГОСТ в PDF или DOC бесплатно
Основная информация
Обозначение:
ГОСТ Р 58063-2018
Статус:
Действует
Тип:
ГОСТ Р
Название русское:
Магистральный трубопроводный транспорт нефти и нефтепродуктов. Геомодули. Общие технические условия
Название английское:
Trunk pipeline transport of oil and oil products. Geomoduls. General specifications
Даты и сроки
Дата издания:
03-06-18
Дата введения в действие:
09-01-18
Дата завершения срока действия:
-
Применение и описание
Область и условия применения:
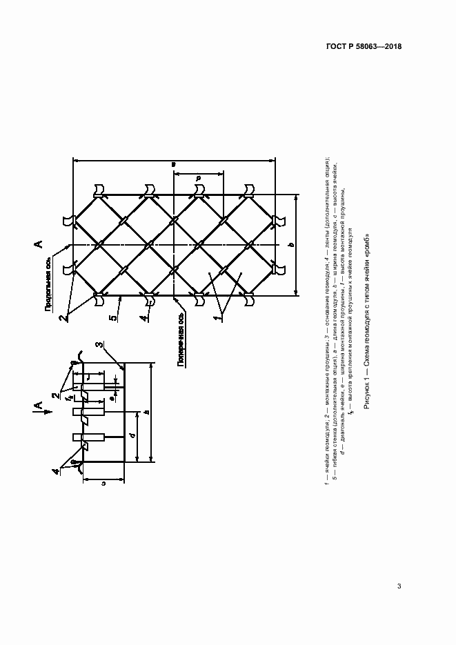
Настоящий стандарт распространяется на геомодули, используемые для устройства грунтового основания сооружений на объектах магистрального трубопроводного транспорта нефти и нефтепродуктов, и устанавливает их общие характеристики
Связи и замены
Заменяющий:
-
Описание стандарта
ГОСТ Р 58063-2018 Магистральный трубопроводный транспорт нефти и нефтепродуктов. Геомодули. Общие технические условия
Страницы стандарта


















