ГОСТ 26140-84 Аппараты рентгеновские медицинские. Общие технические условия
ГОСТ
Скачать ГОСТ в PDF или DOC бесплатно
Основная информация
Обозначение:
ГОСТ 26140-84
Статус:
Действует
Тип:
ГОСТ
Название русское:
Аппараты рентгеновские медицинские. Общие технические условия
Название английское:
X-ray medical apparatus. General specifications
Даты и сроки
Дата издания:
08-01-90
Дата введения в действие:
07-01-85
Дата завершения срока действия:
-
Применение и описание
Область и условия применения:
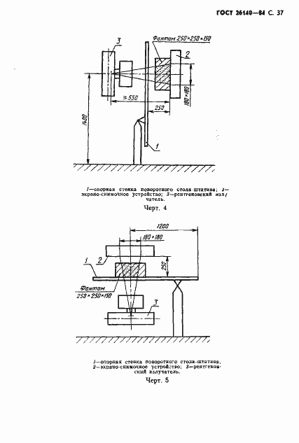
Настоящий стандарт распространяется на медицинские рентгеновские аппараты и комплексы с анодным напряжением рентгеновской трубки от 10 до 400 кВ, предназначенные для рентгенодиагностики и рентгенотерапии, с питанием электрической энергией от источников переменного тока. Стандарт не распространяется на импульсные аппараты с длительностью импульса менее 0,1 мс, на вычислительные томографы, на аппараты с накопителями энергии и преобразованием частоты в главной цепи, а также на дентальные рентгеновские аппараты с анодным напряжением свыше 125 кВ, электрорентгенографические и перевозимые аппараты
Связи и замены
Заменяющий:
-
Взамен в части:
ГОСТ 12.2.018-76 в части медицинских рентгеновских аппаратов; ГОСТ 7248-75 в части медицинских рентгеновских аппаратов
Изменения и переиздания
Список изменений:
№1 от (рег. ) «Срок действия продлен» №2 от (рег. ) «Срок действия продлен» №3 от (рег. ) «Срок действия продлен»
Описание стандарта
ГОСТ 26140-84 Аппараты рентгеновские медицинские. Общие технические условия
Страницы стандарта




















































