ГОСТ 6133-84 Камни бетонные стеновые. Технические условия
ГОСТ
Скачать ГОСТ в PDF или DOC бесплатно
Основная информация
Обозначение:
ГОСТ 6133-84
Статус:
Заменен
Тип:
ГОСТ
Название русское:
Камни бетонные стеновые. Технические условия
Название английское:
Concrete wall stone. Specifications
Даты и сроки
Дата издания:
07-20-84
Дата введения в действие:
06-30-85
Дата завершения срока действия:
01-01-02
Применение и описание
Область и условия применения:
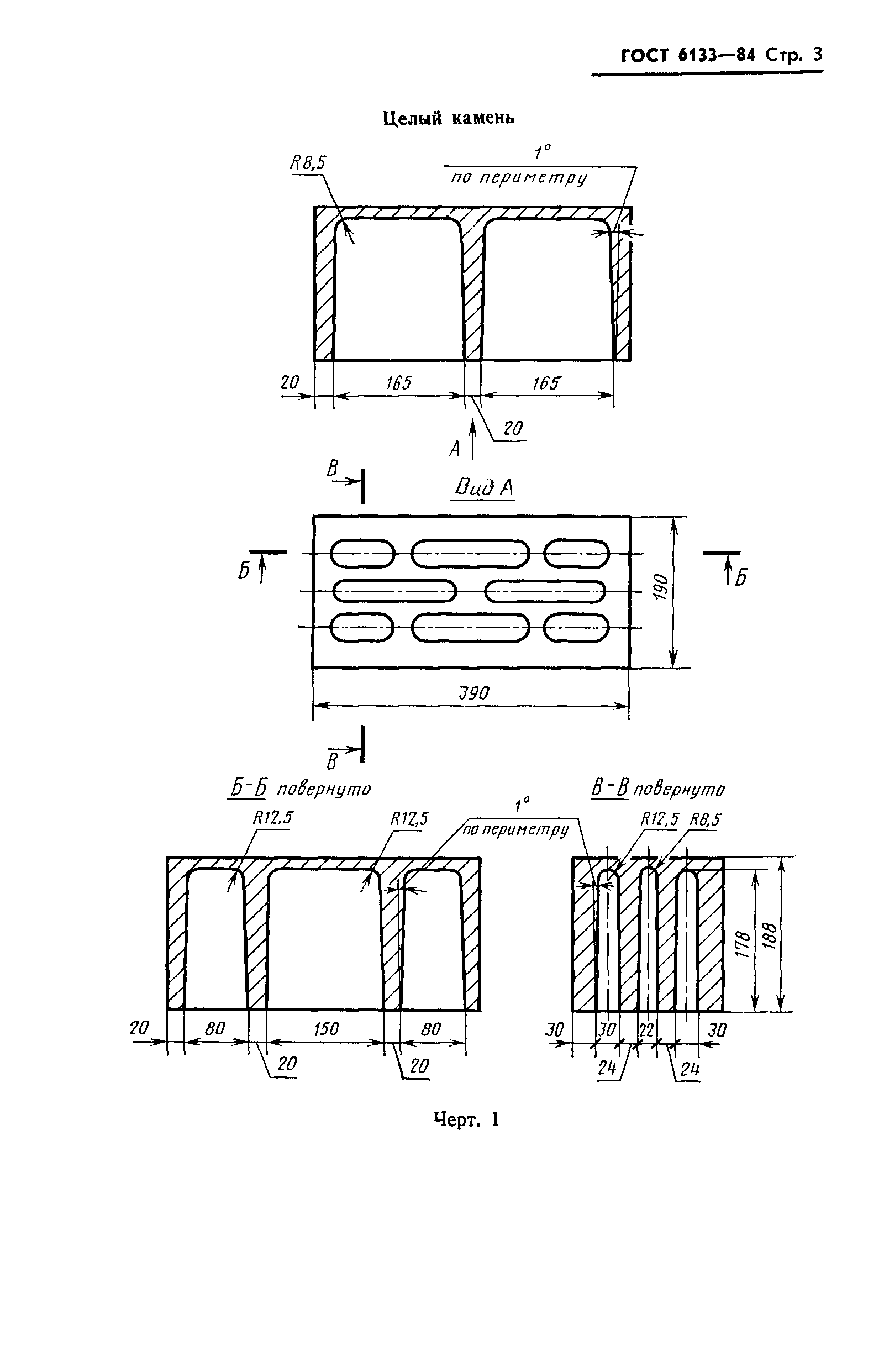
Настоящий стандарт распространяется на полнотелые и пустотелые, рядовые и лицевые стеновые камни, изготовленные вибропрессованием, литьем или другими способами из легких и тяжелых бетонов на цементном, известковом, шлаковом и гипсовом вяжущих, твердеющих в естественных условиях, при пропаривании или автоклавной обработке
Связи и замены
Заменяющий:
ГОСТ 6133-99
Взамен:
ГОСТ 6133-75
Описание стандарта
ГОСТ 6133-84 Камни бетонные стеновые. Технические условия
Страницы стандарта


















