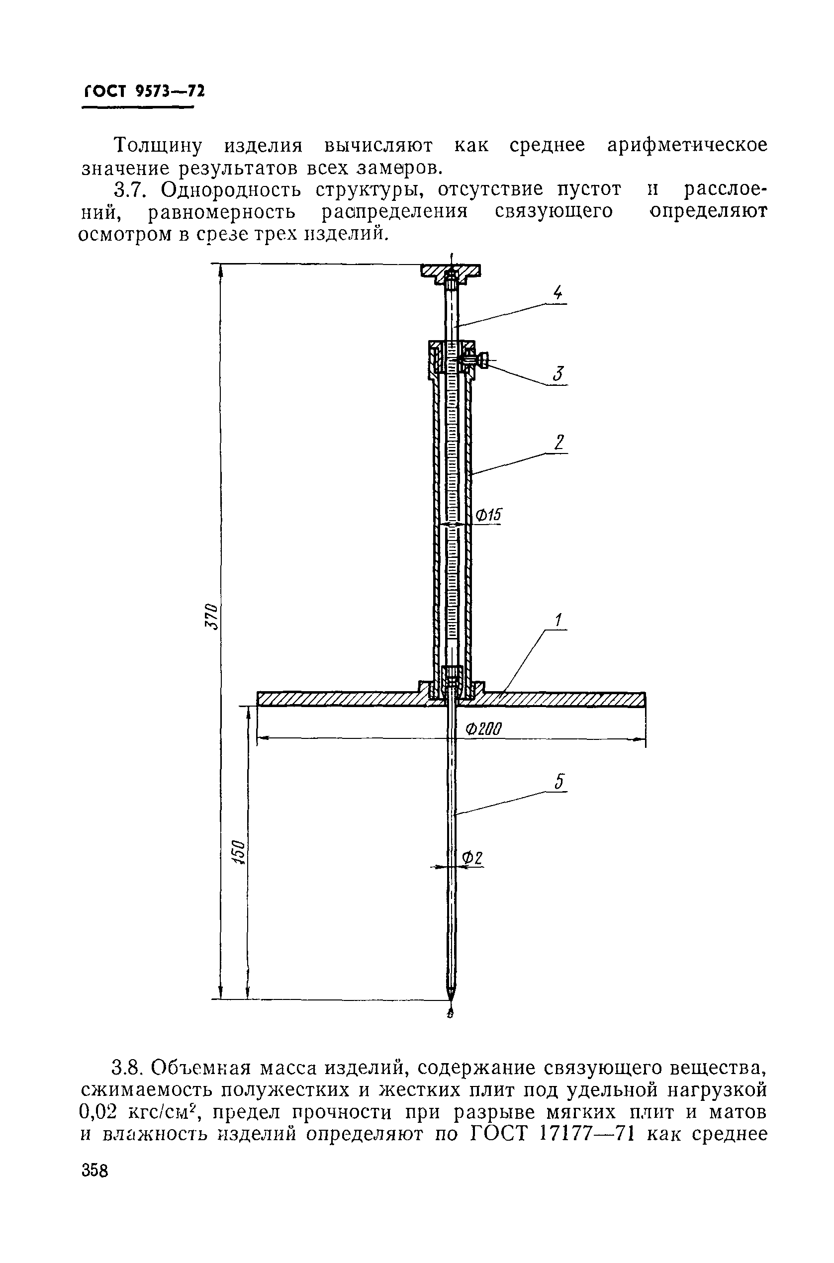
ГОСТ 9573-72 Плиты и маты теплоизоляционные из минеральной ваты на синтетическом связующем
ГОСТ
Скачать ГОСТ в PDF или DOC бесплатно
Основная информация
Обозначение:
ГОСТ 9573-72
Статус:
утратил силу в РФ
Тип:
ГОСТ
Название русское:
Плиты и маты теплоизоляционные из минеральной ваты на синтетическом связующем
Даты и сроки
Дата введения в действие:
07-01-73
Дата завершения срока действия:
07-01-82
Связи и замены
Заменяющий:
ГОСТ 9573-72
Описание стандарта
ГОСТ 9573-72 Плиты и маты теплоизоляционные из минеральной ваты на синтетическом связующем
Страницы стандарта








