ГОСТ 31166-2003 Конструкции ограждающие зданий и сооружений. Метод калориметрического определения коэффициента теплопередачи
ГОСТ
Скачать ГОСТ в PDF или DOC бесплатно
Основная информация
Обозначение:
ГОСТ 31166-2003
Статус:
Действует
Тип:
ГОСТ
Название русское:
Конструкции ограждающие зданий и сооружений. Метод калориметрического определения коэффициента теплопередачи
Название английское:
Building and structure envelopes. Method for calorimetric determination of the heat transfer coefficient
Даты и сроки
Дата регистрации:
05-14-03
Дата издания:
12-16-03
Дата введения в действие:
07-01-03
Дата завершения срока действия:
-
Применение и описание
Область и условия применения:
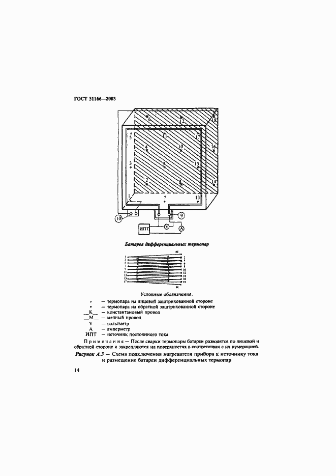
Настоящий стандарт распространяется на ограждающие конструкции жилых, общественных, производственных и сельскохозяйственных зданий и сооружений: наружные стены, покрытия, чердачные перекрытия, перекрытия над проездами, холодными подпольями и подвалами и устанавливает метод определения их коэффициента теплопередачи в лабораторных и натурных условиях. Ограждающие конструкции в зоне измерения могут содержать различные включения, нарушающие термическую однородность по полю ограждения. Стандарт не распространяется на светопрозрачные ограждающие конструкции
Связи и замены
Заменяющий:
-
Описание стандарта
ГОСТ 31166-2003 Конструкции ограждающие зданий и сооружений. Метод калориметрического определения коэффициента теплопередачи
Страницы стандарта





















