ГОСТ 31167-2003 Здания и сооружения. Методы определения воздухопроницаемости ограждающих конструкций в натурных условиях
ГОСТ
Скачать ГОСТ в PDF или DOC бесплатно
Основная информация
Обозначение:
ГОСТ 31167-2003
Статус:
Заменен
Тип:
ГОСТ
Название русское:
Здания и сооружения. Методы определения воздухопроницаемости ограждающих конструкций в натурных условиях
Название английское:
Buildings and structures. Methods for determination of air permeability of building envelope in field conditions
Даты и сроки
Дата регистрации:
05-14-03
Дата издания:
12-16-03
Дата введения в действие:
07-01-03
Дата завершения срока действия:
03-01-11
Применение и описание
Область и условия применения:
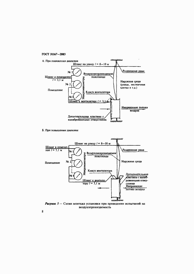
Настоящий стандарт устанавливает методы определения воздухопроницаемости в натурных условиях ограждающих конструкций объекта: помещения, группы помещений (квартиры) жилых, общественных, административных, бытовых, сельскохозяйственных, вспомогательных помещений производственных зданий и сооружений, а также здания в целом. Стандарт не распространяется на помещения и здания с открытыми по условию технологии проемами в ограждениях
Связи и замены
Заменяющий:
ГОСТ 31167-2009
Взамен:
ГОСТ 25891-83
Изменения и переиздания
Список изменений:
№0 от (рег. ) «Дата введения перенесена»
Описание стандарта
ГОСТ 31167-2003 Здания и сооружения. Методы определения воздухопроницаемости ограждающих конструкций в натурных условиях
Страницы стандарта



























Приложение №1: Поправка к ГОСТ 31167-2003 Обозначение: Поправка к ГОСТ 31167-2003 Дата введения в действие: 08.07.2005
