ГОСТ 30324.0-95 Изделия медицинские электрические. Часть 1. Общие требования безопасности
ГОСТ
Скачать ГОСТ в PDF или DOC бесплатно
Основная информация
Обозначение:
ГОСТ 30324.0-95
Статус:
Заменен
Тип:
ГОСТ
Название русское:
Изделия медицинские электрические. Часть 1. Общие требования безопасности
Название английское:
Medical electrical equipment. Part 1. General safety requirements
Даты и сроки
Дата издания:
10-01-09
Дата введения в действие:
06-30-96
Дата завершения срока действия:
10-01-25
Применение и описание
Область и условия применения:
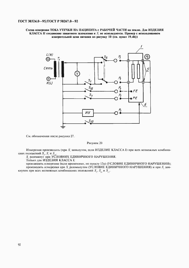
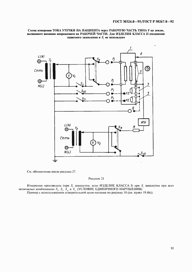
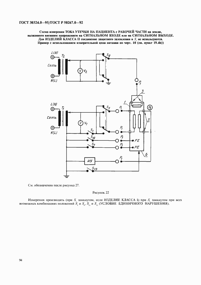
Настоящий стандарт распространяется на безопасность МЕДИЦИНСКИХ ЭЛЕКТРИЧЕСКИХ ИЗДЕЛИЙ. Так как настоящий стандарт относится в основном к безопасности, он содержит некоторые требования, касающиеся надежной работы, если это связано с безопасностью
Связи и замены
Заменяющий:
ГОСТ IEC 60601-1-2024
Изменения и переиздания
Список изменений:
№0 от (рег. ) «Дата введения перенесена» №1 от (рег. ) «Срок действия продлен»
Описание стандарта
ГОСТ 30324.0-95 Изделия медицинские электрические. Часть 1. Общие требования безопасности
Страницы стандарта














































































































































Приложение №1: Поправка к ГОСТ 30324.0-95 Обозначение: Поправка к ГОСТ 30324.0-95 Дата введения в действие: 15.10.2001
