ГОСТ 18297-96 Приборы санитарно-технические чугунные эмалированные. Технические условия
ГОСТ
Скачать ГОСТ в PDF или DOC бесплатно
Основная информация
Обозначение:
ГОСТ 18297-96
Статус:
Действует
Тип:
ГОСТ
Название русское:
Приборы санитарно-технические чугунные эмалированные. Технические условия
Название английское:
Enamelled cast-iron sanitary appliances. Specifications
Даты и сроки
Дата регистрации:
12-11-96
Дата издания:
11-27-97
Дата введения в действие:
11-01-97
Дата завершения срока действия:
-
Применение и описание
Область и условия применения:
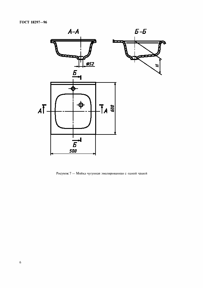
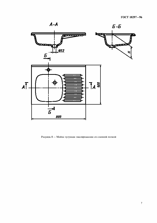
Настоящий стандарт распространяется на санитарно-технические чугунные эмалированные приборы: ванны, душевые поддоны, мойки, устанавливаемые в зданиях различного назначения. Стандарт не распространяется на приборы специального назначения, подвергаемые воздействию морской или минеральной воды, а также других агрессивных сред
Связи и замены
Заменяющий:
-
Взамен:
ГОСТ 18297-80;ГОСТ 1154-80;ГОСТ 7506-83;ГОСТ 10161-83
Описание стандарта
ГОСТ 18297-96 Приборы санитарно-технические чугунные эмалированные. Технические условия
Страницы стандарта






















