ГОСТ 30493-96 Изделия санитарные керамические. Типы и основные размеры
ГОСТ
Скачать ГОСТ в PDF или DOC бесплатно
Основная информация
Обозначение:
ГОСТ 30493-96
Статус:
Заменен
Тип:
ГОСТ
Название русское:
Изделия санитарные керамические. Типы и основные размеры
Название английское:
Ceramic sanitary ware. Types and principal dimensions
Даты и сроки
Дата регистрации:
12-11-96
Дата издания:
07-01-06
Дата введения в действие:
07-01-98
Дата завершения срока действия:
03-01-18
Применение и описание
Область и условия применения:
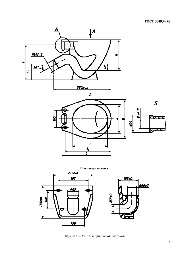
Настоящий стандарт распространяется на санитарные керамические (фарфоровые, полуфарфоровые и фаянсовые) умывальники, пьедесталы для умывальников, унитазы, смывные бачки, биде , писсуары и устанавливает их типы и основные размеры
Связи и замены
Заменяющий:
ГОСТ 30493-2017
Взамен:
ГОСТ 755-85;ГОСТ 21485.4-76;ГОСТ 21485.5-76;ГОСТ 22847-85;ГОСТ 23759-85;ГОСТ 26901-86;СТ СЭВ 1002-78
Изменения и переиздания
Список изменений:
№0 от (рег. ) «Дата введения перенесена»
Описание стандарта
ГОСТ 30493-96 Изделия санитарные керамические. Типы и основные размеры
Страницы стандарта
















Приложение №1: Поправка к ГОСТ 30493-96 Обозначение: Поправка к ГОСТ 30493-96 Дата введения в действие: 01.11.2007
