ГОСТ 30815-2002 Терморегуляторы автоматические отопительных приборов систем водяного отопления зданий. Общие технические условия
ГОСТ
Скачать ГОСТ в PDF или DOC бесплатно
Основная информация
Обозначение:
ГОСТ 30815-2002
Статус:
Заменен
Тип:
ГОСТ
Название русское:
Терморегуляторы автоматические отопительных приборов систем водяного отопления зданий. Общие технические условия
Название английское:
Automatic valves for regulation of temperature in heating devices of systems of water heating of buildings. General specifications
Даты и сроки
Дата регистрации:
04-24-02
Дата издания:
09-11-02
Дата введения в действие:
04-01-02
Дата завершения срока действия:
06-01-20
Применение и описание
Область и условия применения:
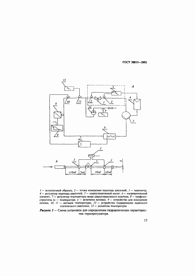
Настоящий стандарт распространяется на автоматические терморегулирующие клапаны, работающие без использования постороннего источника энергии (прямого действия), предназначенные для регулирования тепловой мощности отопительных приборов в системах водяного отопления зданий и сооружений. Терморегуляторы предназначены для работы в следующих условиях:- параметры теплоносителя: избыточное рабочее давление - до 1,0 МПа включительно, температура - до 120 град. С;- параметры окружающей среды: температура 5-45 град. С, относительная влажность 30-80%
Связи и замены
Заменяющий:
ГОСТ 30815-2019
Описание стандарта
ГОСТ 30815-2002 Терморегуляторы автоматические отопительных приборов систем водяного отопления зданий. Общие технические условия
Страницы стандарта





































