ГОСТ Р 56943-2016 Лифты. Общие требования безопасности к устройству и установке. Лифты для транспортирования грузов
ГОСТ Р
Скачать ГОСТ в PDF или DOC бесплатно
Основная информация
Обозначение:
ГОСТ Р 56943-2016
Статус:
Действует
Тип:
ГОСТ Р
Название русское:
Лифты. Общие требования безопасности к устройству и установке. Лифты для транспортирования грузов
Название английское:
Lifts. General safety requirements for the construction and installation. Lifts for the transportation of goods
Даты и сроки
Дата издания:
02-16-17
Дата введения в действие:
01-01-17
Дата завершения срока действия:
-
Применение и описание
Область и условия применения:
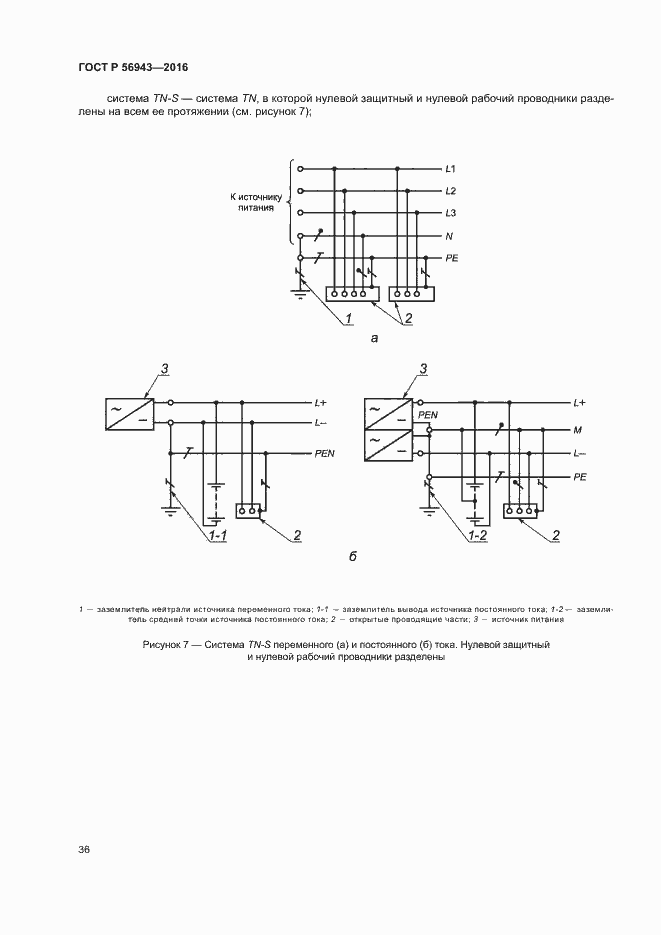
Настоящий стандарт устанавливает общие требования безопасности к конструкции и установке в зданиях, сооружениях электрических лифтов с приводом трения, приводом с барабаном или звездочкой и гидравлических лифтов, предназначенных для транспортирования грузов без сопровождения людьми. В тех же случаях, когда лифты предназначены для работы в специальных условиях (взрывоопасной среде, особых климатических условиях, при сейсмическом воздействии, транспортировании опасных грузов и т.д.), в дополнение к требованиям настоящего стандарта должны быть выполнены специальные требования, обеспечивающие безопасность. Требования к условиям работы лифтов определяют при заключении договора на поставку лифта
Связи и замены
Заменяющий:
-
Взамен в части:
ГОСТ Р 53780-2010 в части общих требований безопасности к устройству и установке лифтов для транспортирования грузов без сопровождения людьми
Описание стандарта
ГОСТ Р 56943-2016 Лифты. Общие требования безопасности к устройству и установке. Лифты для транспортирования грузов
Страницы стандарта









































































