ГОСТ Р 54439-2011 Котлы газовые для центрального отопления. Котлы типа В с номинальной тепловой мощностью свыше 300 кВт, но не более 1000 кВт
ГОСТ Р
Скачать ГОСТ в PDF или DOC бесплатно
Основная информация
Обозначение:
ГОСТ Р 54439-2011
Статус:
Отменен
Тип:
ГОСТ Р
Название русское:
Котлы газовые для центрального отопления. Котлы типа В с номинальной тепловой мощностью свыше 300 кВт, но не более 1000 кВт
Название английское:
Gas fired central heating boilers. Type B boilers of nominal heat input not exceeding 300 kW, but not exceeding 1000 kW
Даты и сроки
Дата издания:
10-02-12
Дата введения в действие:
07-01-12
Дата завершения срока действия:
01-01-21
Применение и описание
Область и условия применения:
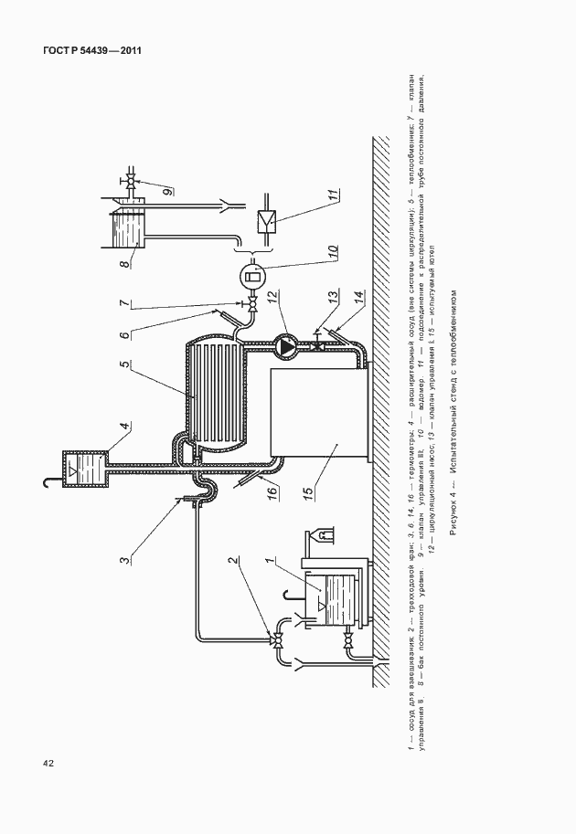
Настоящий стандарт распространяется на газовые котлы центрального отопления типа B, предназначенные для закрытых или открытых водяных систем, оборудованные атмосферными горелками, атмосферными горелками с вентиляторами или горелками с полным предварительным смешением, работающие с использованием одного или нескольких газов трех семейств, имеющие номинальную тепловую мощность более 300 кВт, но не превышающую 1000 кВт, температуру воды - не более 95 град. С, давление воды - не более 0,6 МПа. Настоящий стандарт не распространяется на котлы: - предназначенные для установки на открытом воздухе или в жилых помещениях; - оборудованные несколькими дымоходами; - с закрытыми камерами сгорания; - с дутьевыми горелками; - конденсационного типа; - предназначенные для присоединения к общей дымовой трубе, имеющей дымосос; - комбинированного типа (центральное отопление и горячее водоснабжение)
Связи и замены
Заменяющий:
-
Описание стандарта
ГОСТ Р 54439-2011 Котлы газовые для центрального отопления. Котлы типа В с номинальной тепловой мощностью свыше 300 кВт, но не более 1000 кВт
Страницы стандарта

































































































