ГОСТ Р 50571.21-2000 Электроустановки зданий. Часть 5. Выбор и монтаж электрооборудования. Раздел 548. Заземляющие устройства и системы уравнивания электрических потенциалов в электроустановках, содержащих оборудование обработки информации
ГОСТ Р
Скачать ГОСТ в PDF или DOC бесплатно
Основная информация
Обозначение:
ГОСТ Р 50571.21-2000
Статус:
Заменен
Тип:
ГОСТ Р
Название русское:
Электроустановки зданий. Часть 5. Выбор и монтаж электрооборудования. Раздел 548. Заземляющие устройства и системы уравнивания электрических потенциалов в электроустановках, содержащих оборудование обработки информации
Название английское:
Electrical installations of buildings. Part 5. Selection and erection of electrical equipment. Section 548. Earthing arrangements and equipotential bolding for information technology installations
Даты и сроки
Дата издания:
06-15-12
Дата введения в действие:
01-01-02
Дата завершения срока действия:
01-01-13
Применение и описание
Область и условия применения:
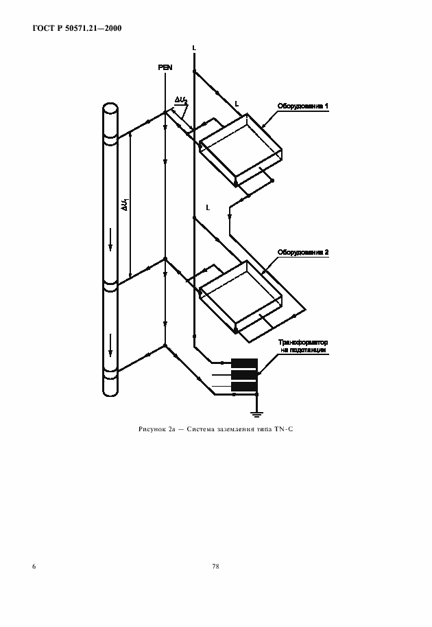
Настоящий стандарт распространяется на электроустановки зданий, применяемые во всех отраслях экономики страны, независимо от принадлежности и форм собственности, и устанавливает требования по выбору и монтажу электрооборудования, в частности к выбору конструкции и монтажу заземляющих устройств, систем уравнивания и выравнивания электрических потенциалов в электроустановках, содержащих оборудование обработки информации, соединенное между собой для обмена данными, а также другое электрооборудование, чувствительное к помехам
Связи и замены
Заменяющий:
ГОСТ Р 50571.5.54-2011
Описание стандарта
ГОСТ Р 50571.21-2000 Электроустановки зданий. Часть 5. Выбор и монтаж электрооборудования. Раздел 548. Заземляющие устройства и системы уравнивания электрических потенциалов в электроустановках, содержащих оборудование обработки информации
Страницы стандарта

















