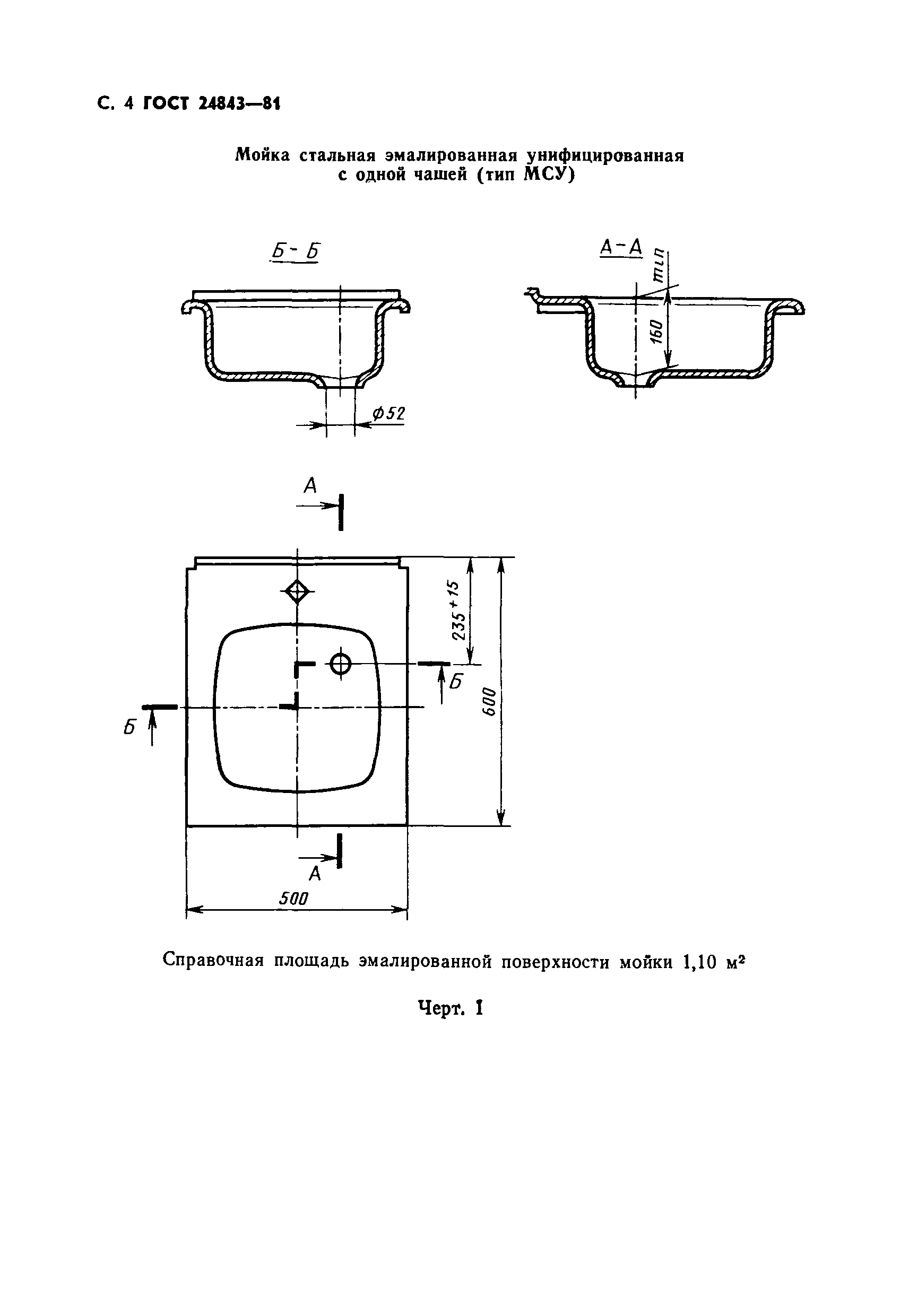
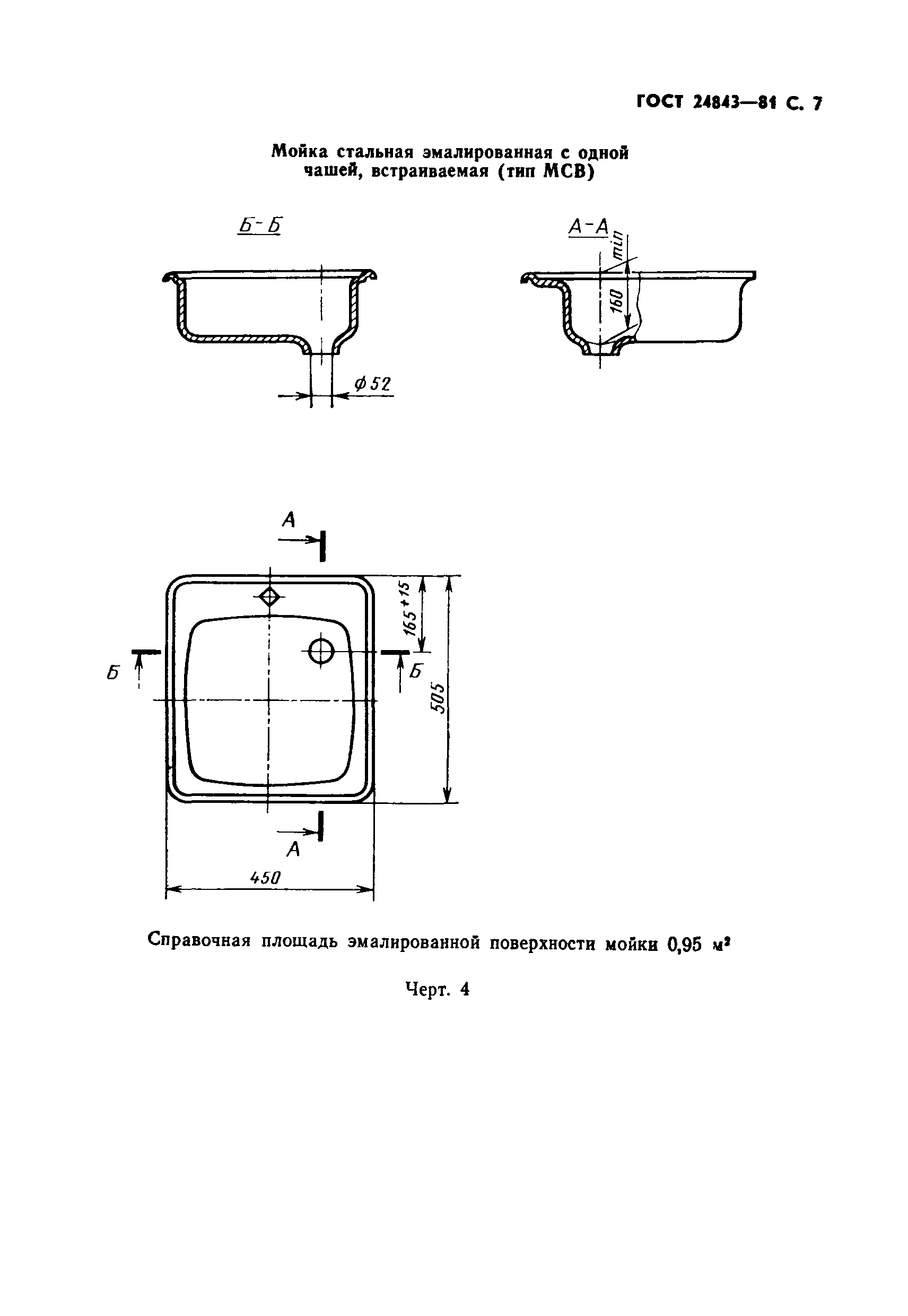
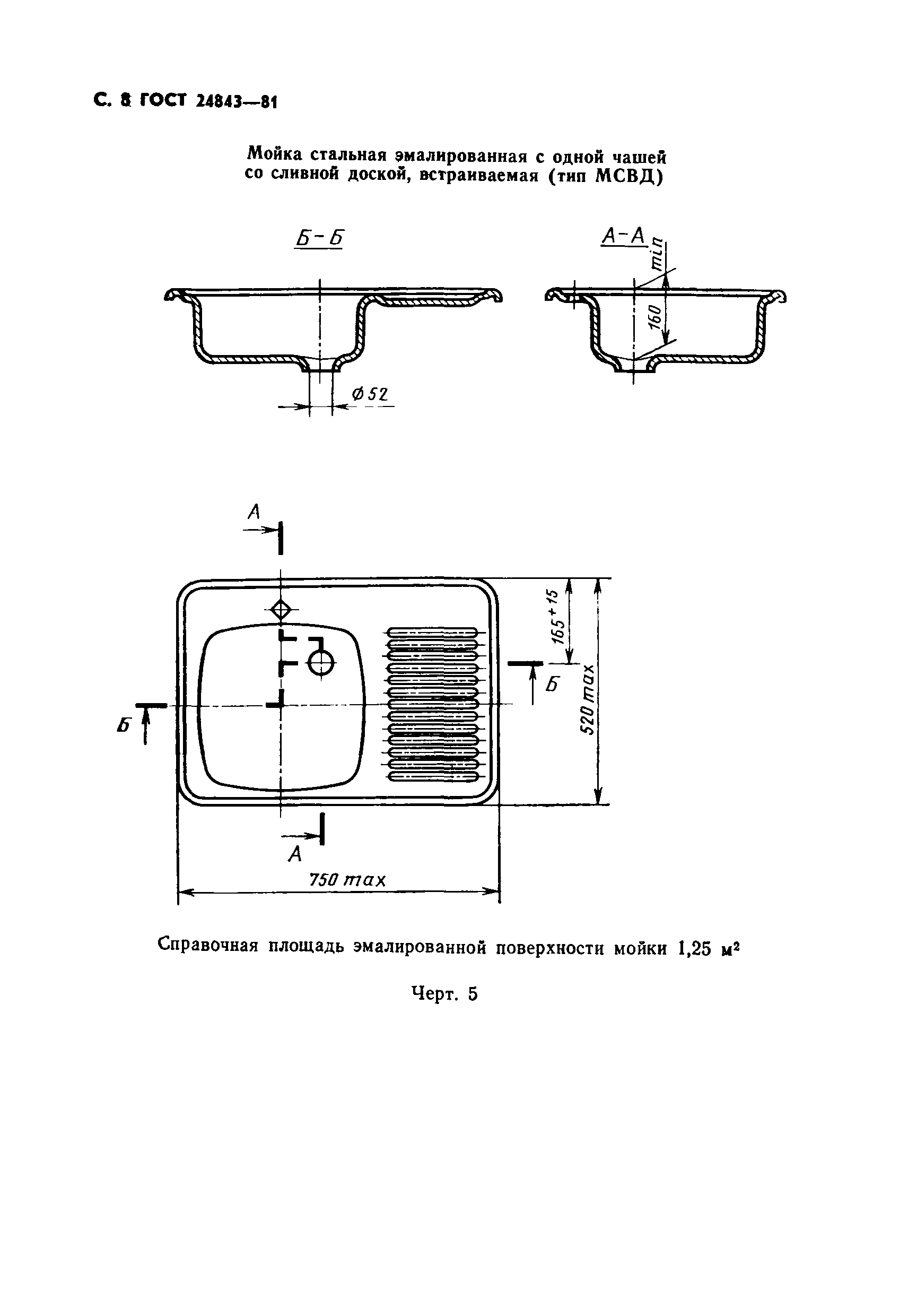
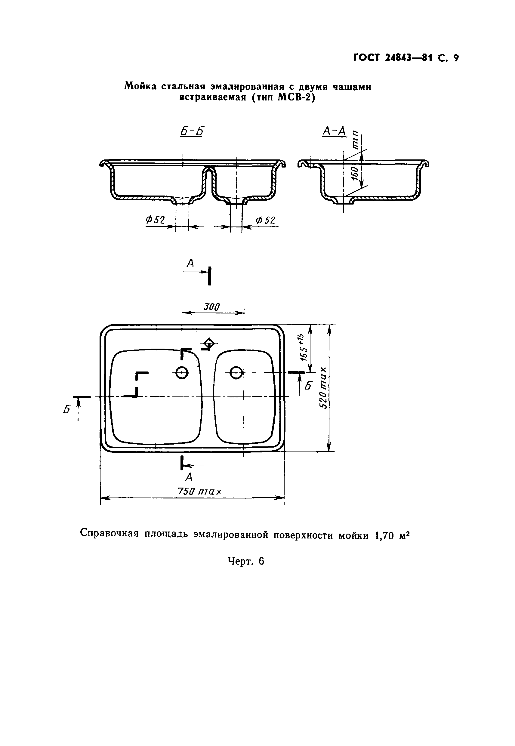
ГОСТ 24843-81 Мойки и раковины эмалированные и кронштейны стальные для моек. Технические условия
ГОСТ
Скачать ГОСТ в PDF или DOC бесплатно
Основная информация
Обозначение:
ГОСТ 24843-81
Статус:
Заменен
Тип:
ГОСТ
Название русское:
Мойки и раковины эмалированные и кронштейны стальные для моек. Технические условия
Название английское:
Steel enamelled sinks and supports for them. Specifications
Даты и сроки
Дата введения в действие:
01-01-82
Дата завершения срока действия:
07-01-95
Связи и замены
Заменяющий:
ГОСТ 23695-94
Взамен:
ГОСТ 14631-69;ГОСТ 8631-75
Взамен в части:
ГОСТ 14631-69; ГОСТ 8631-75
Изменения и переиздания
Список изменений:
№2 от (рег. ) «Срок действия продлен» №3 от (рег. ) «Срок действия продлен»
Описание стандарта
ГОСТ 24843-81 Мойки и раковины эмалированные и кронштейны стальные для моек. Технические условия
Страницы стандарта




















