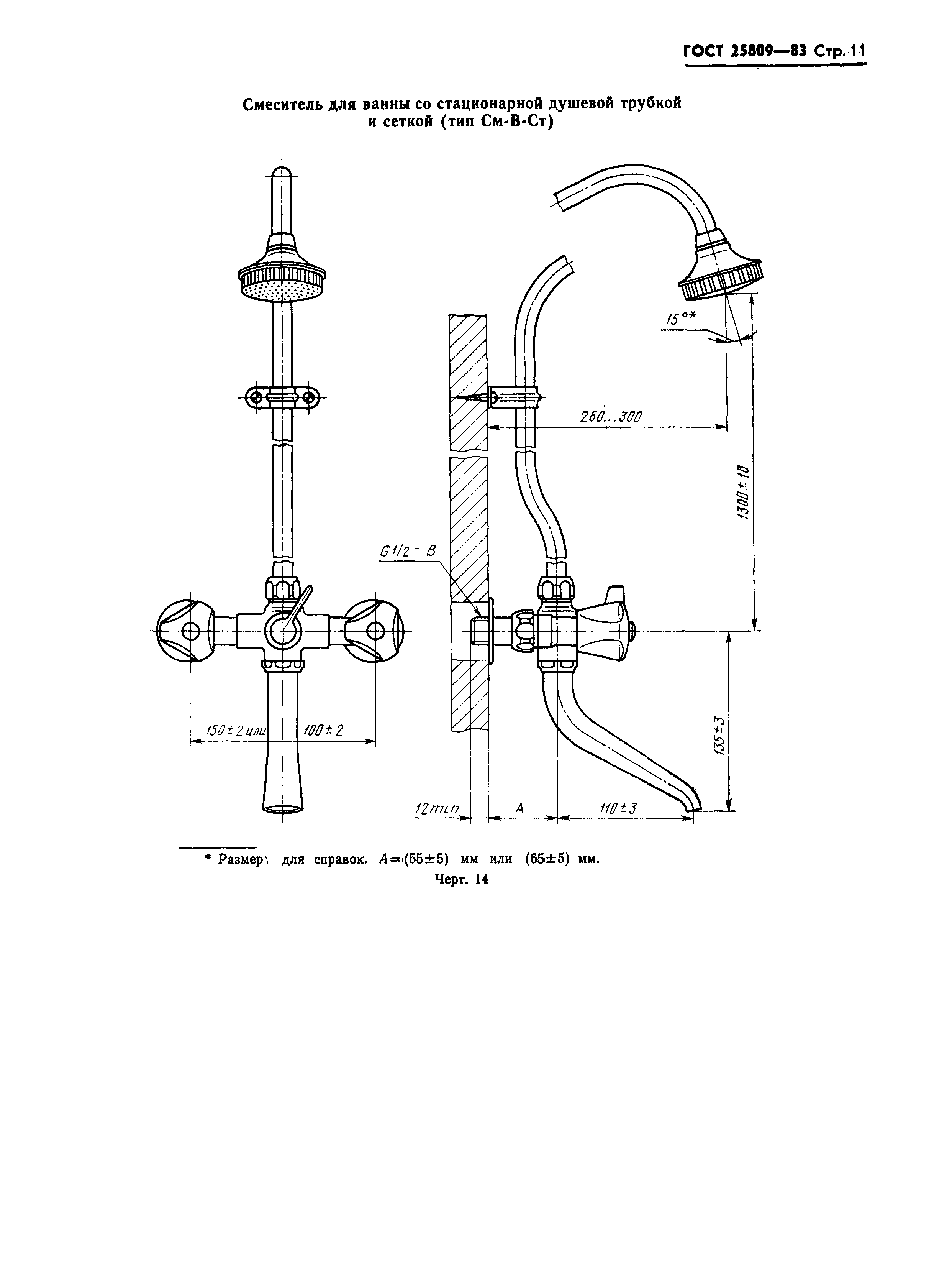
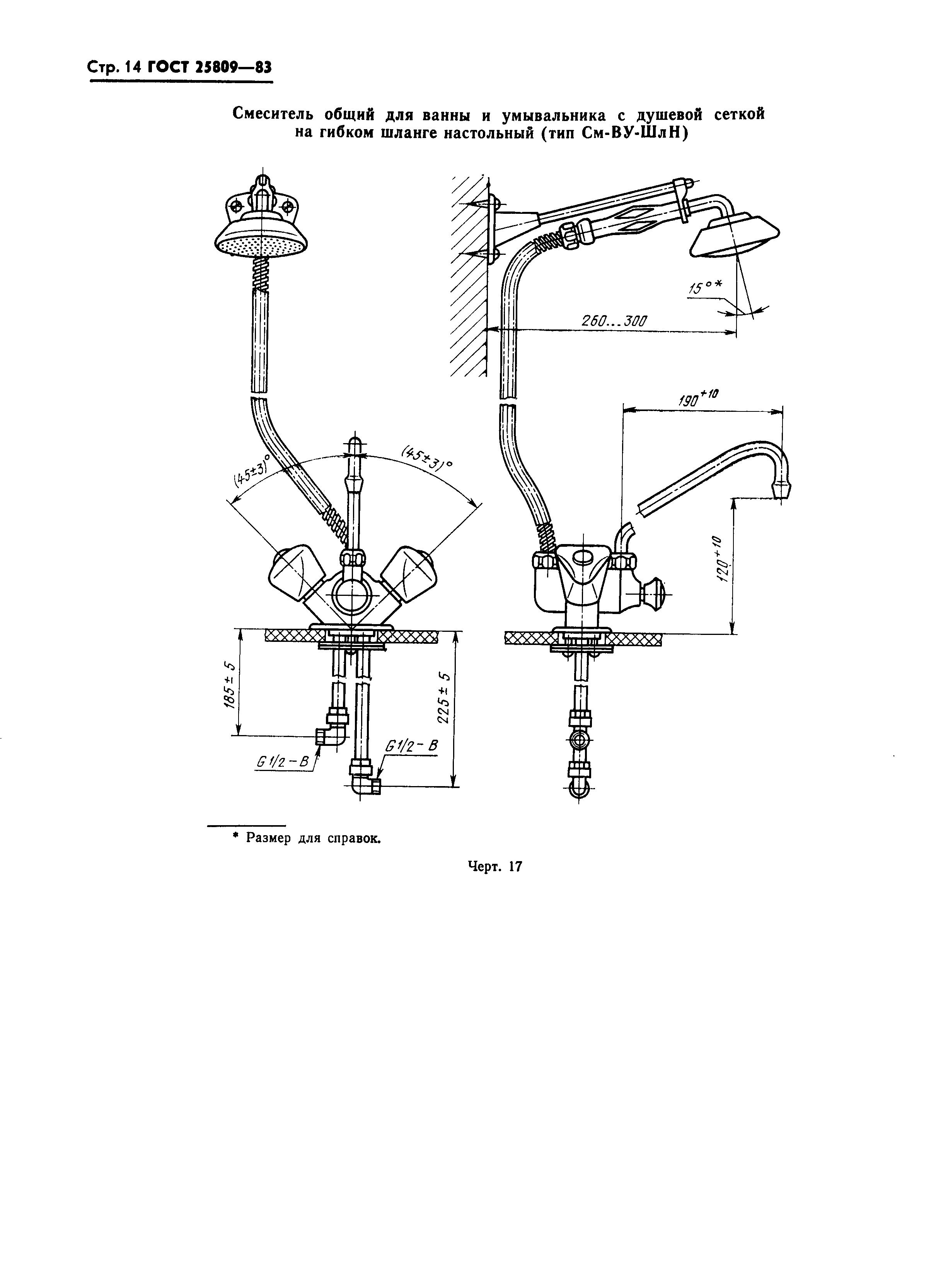
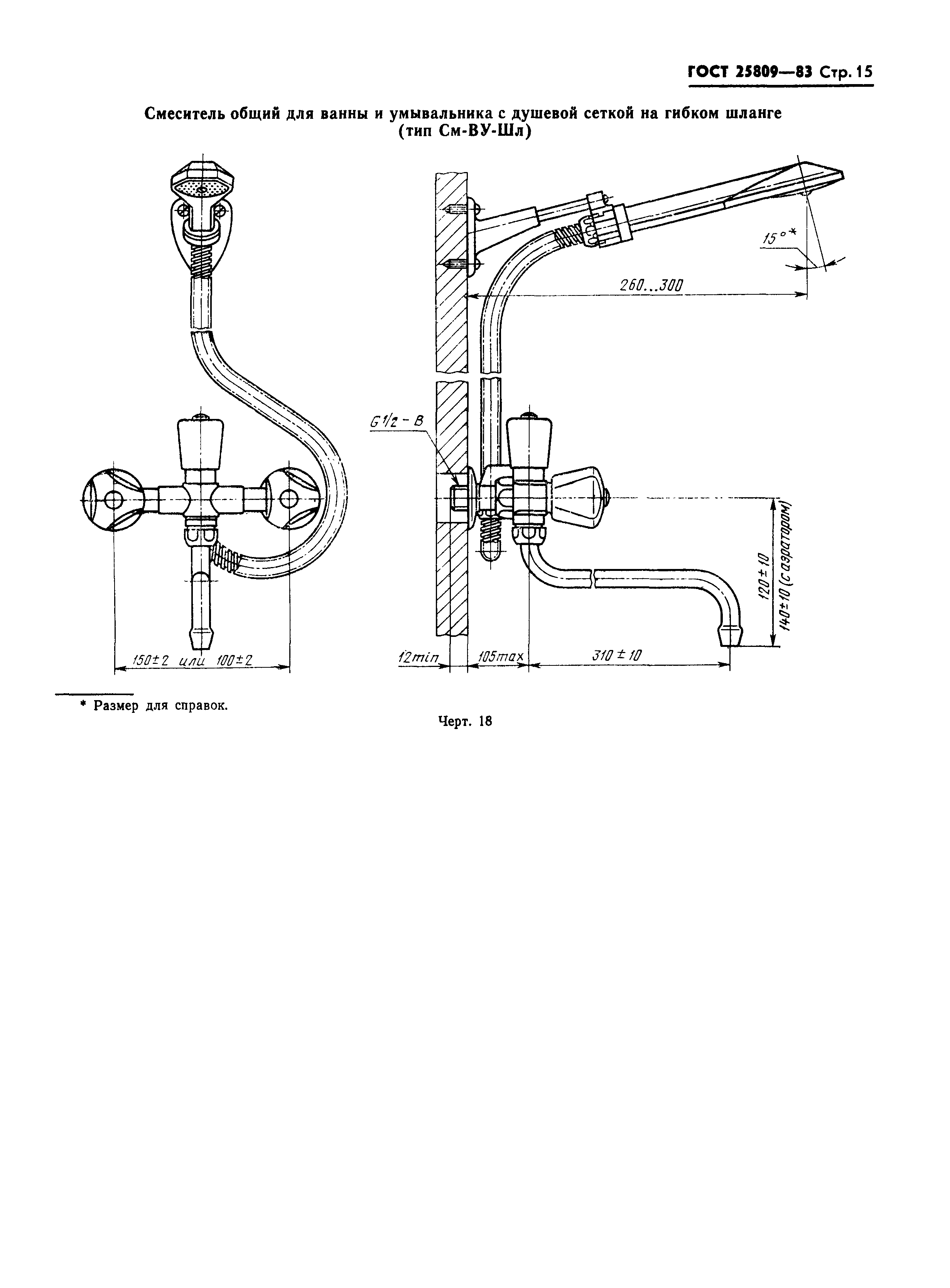
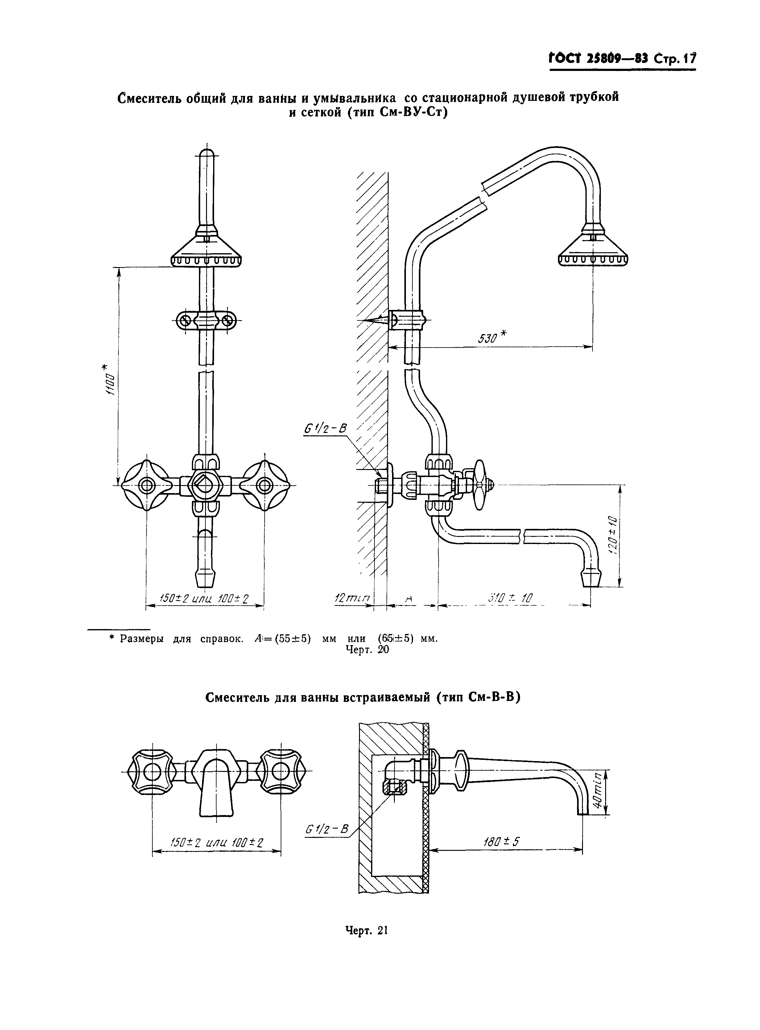
ГОСТ 25809-83 Смесители водоразборные. Типы и основные размеры
ГОСТ
Скачать ГОСТ в PDF или DOC бесплатно
Основная информация
Обозначение:
ГОСТ 25809-83
Статус:
Заменен
Тип:
ГОСТ
Название русское:
Смесители водоразборные. Типы и основные размеры
Название английское:
Water supply mixing valves. Types and main dimensions
Даты и сроки
Дата издания:
08-15-83
Дата введения в действие:
06-30-84
Дата завершения срока действия:
01-01-98
Связи и замены
Заменяющий:
ГОСТ 25809-96
Взамен:
ГОСТ 19802-74;ГОСТ 19874-74
Изменения и переиздания
Список изменений:
№1 от (рег. ) «Срок действия продлен» №2 от (рег. ) «Срок действия продлен»
Описание стандарта
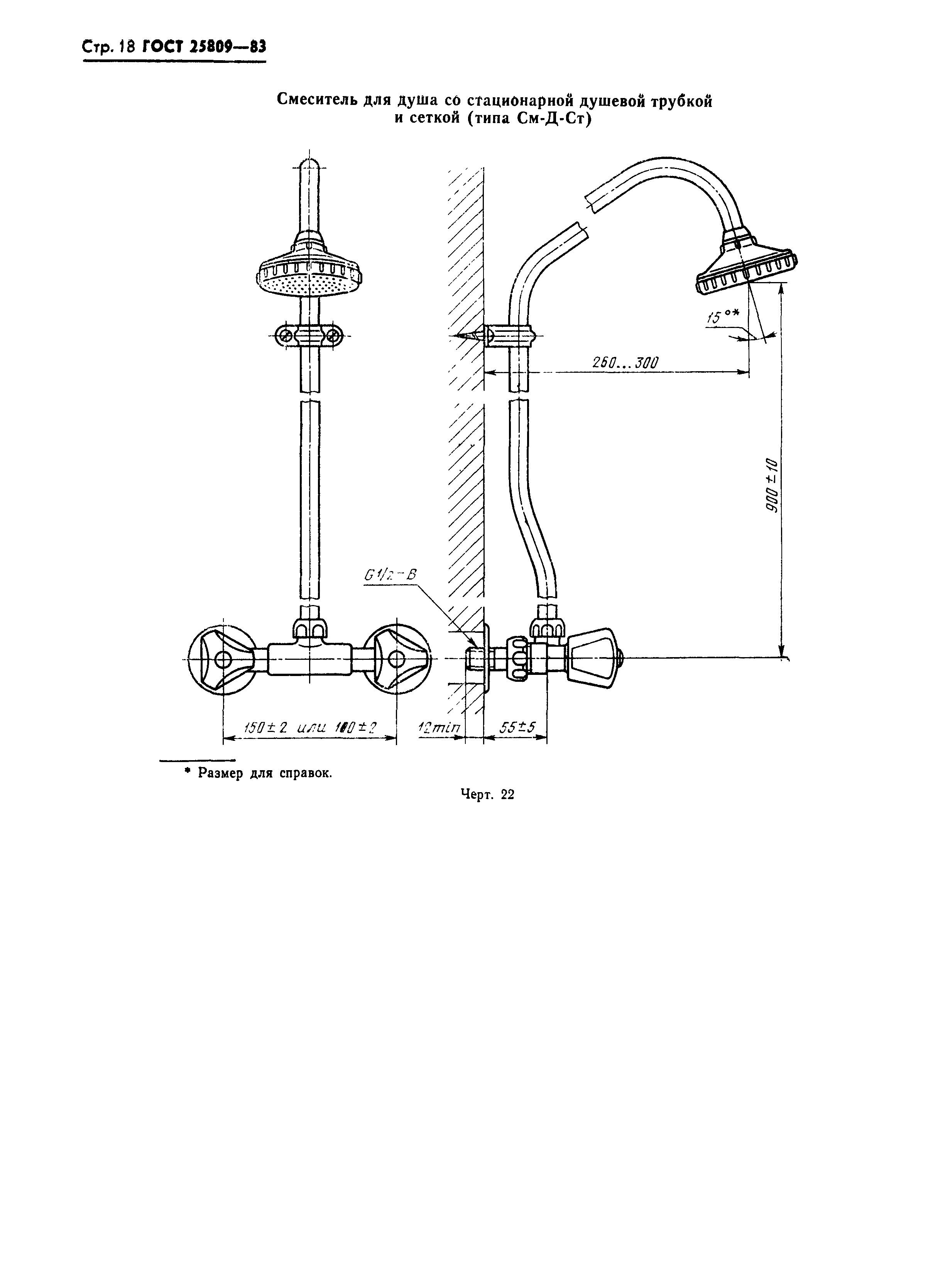
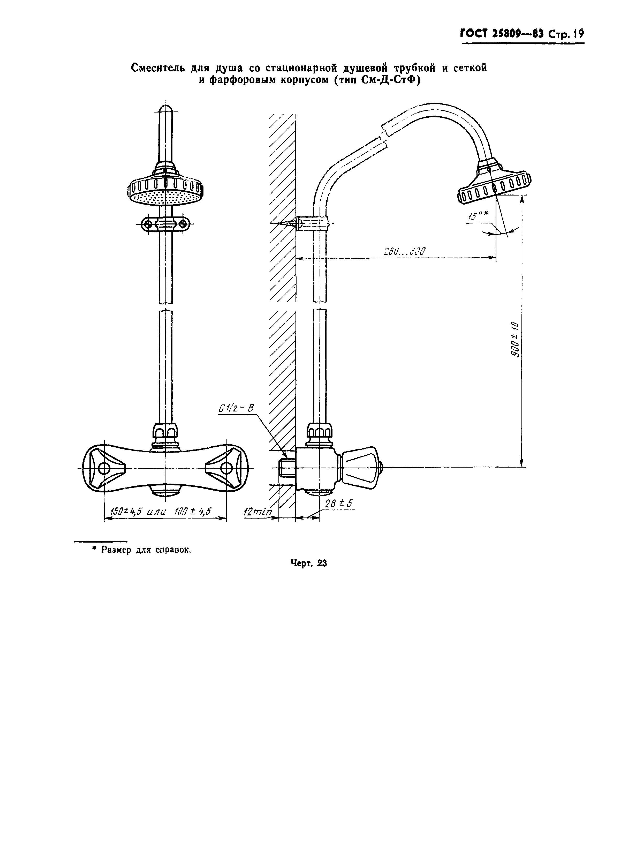
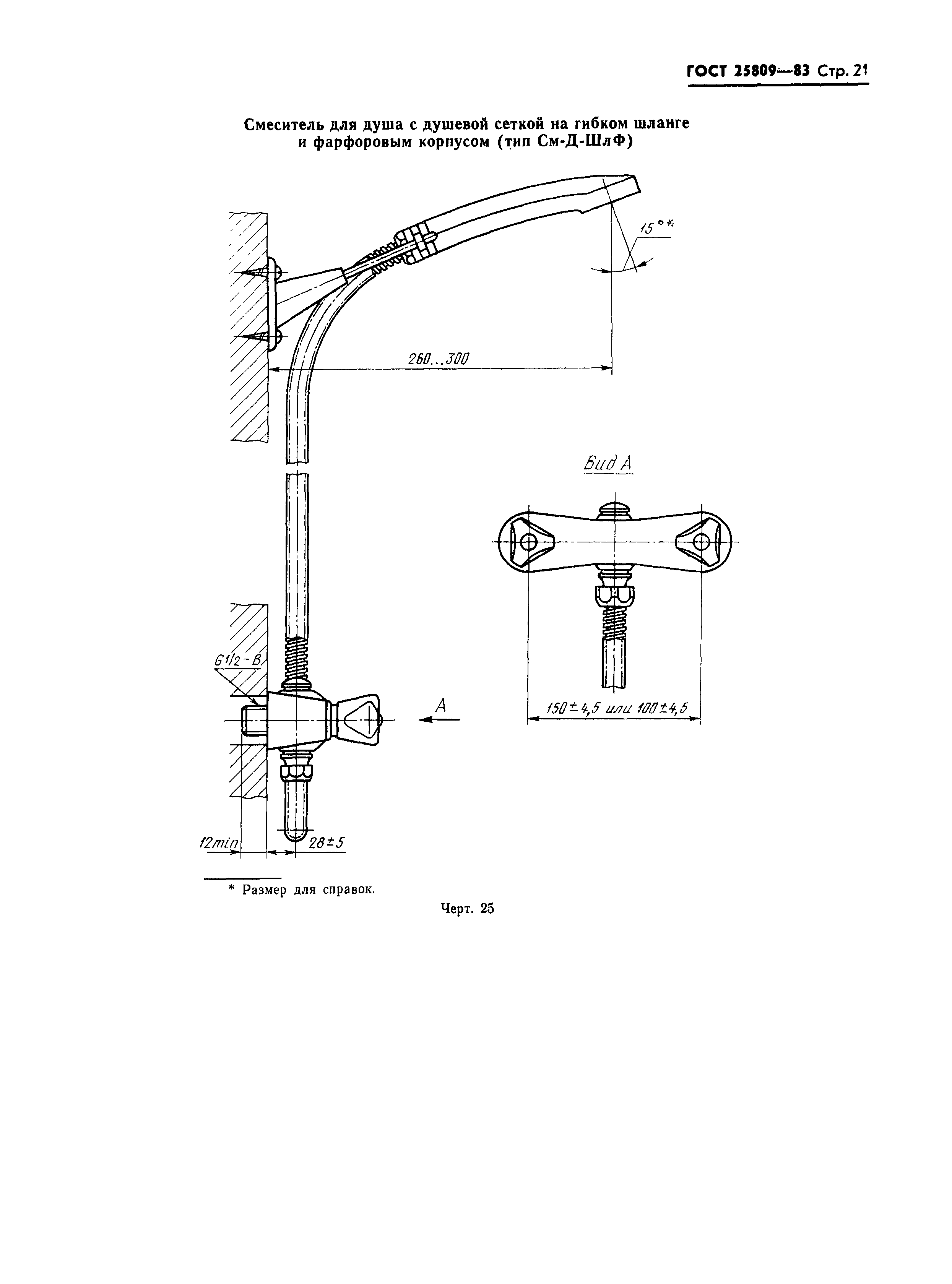
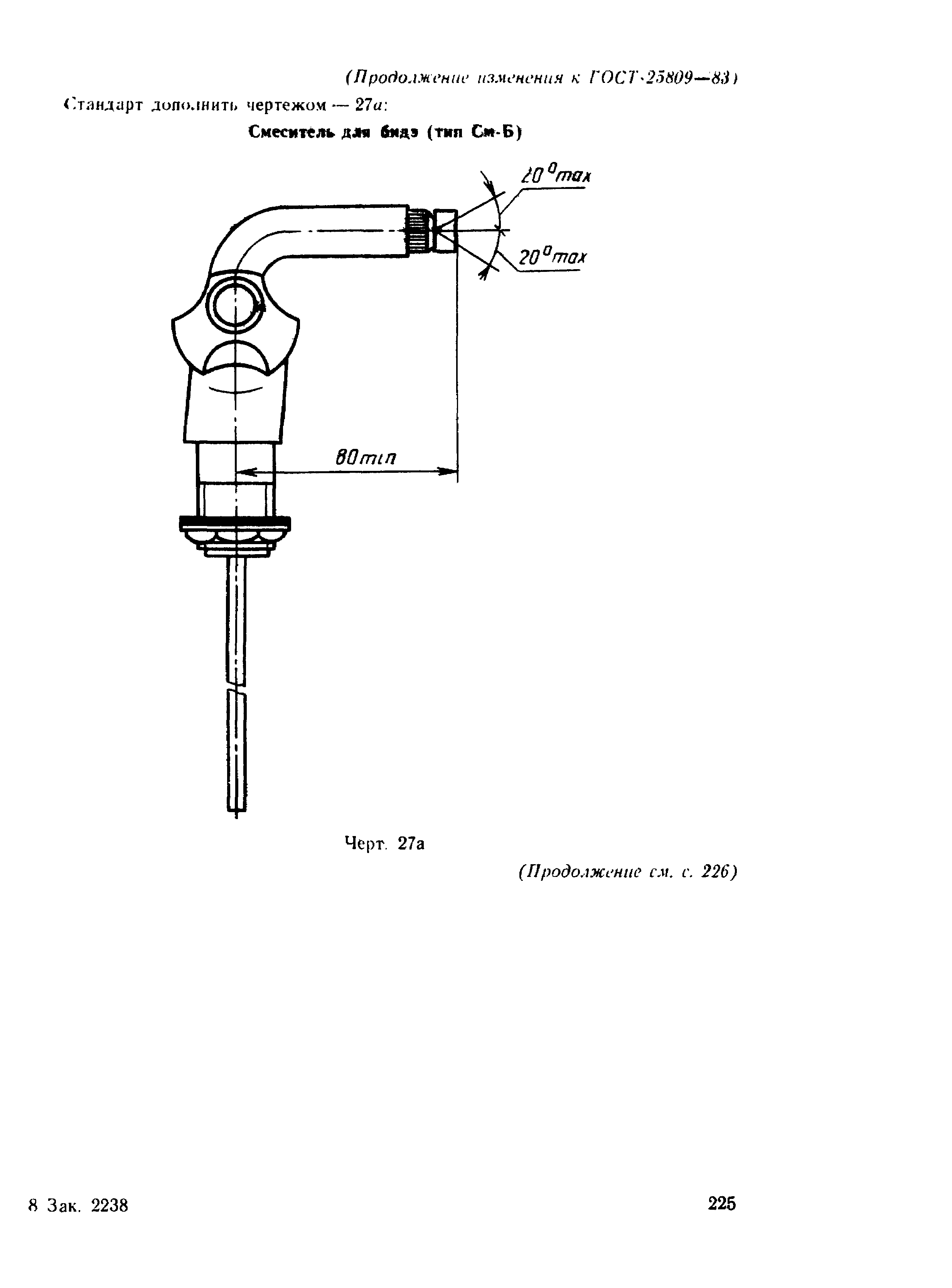
ГОСТ 25809-83 Смесители водоразборные. Типы и основные размеры
Страницы стандарта




































