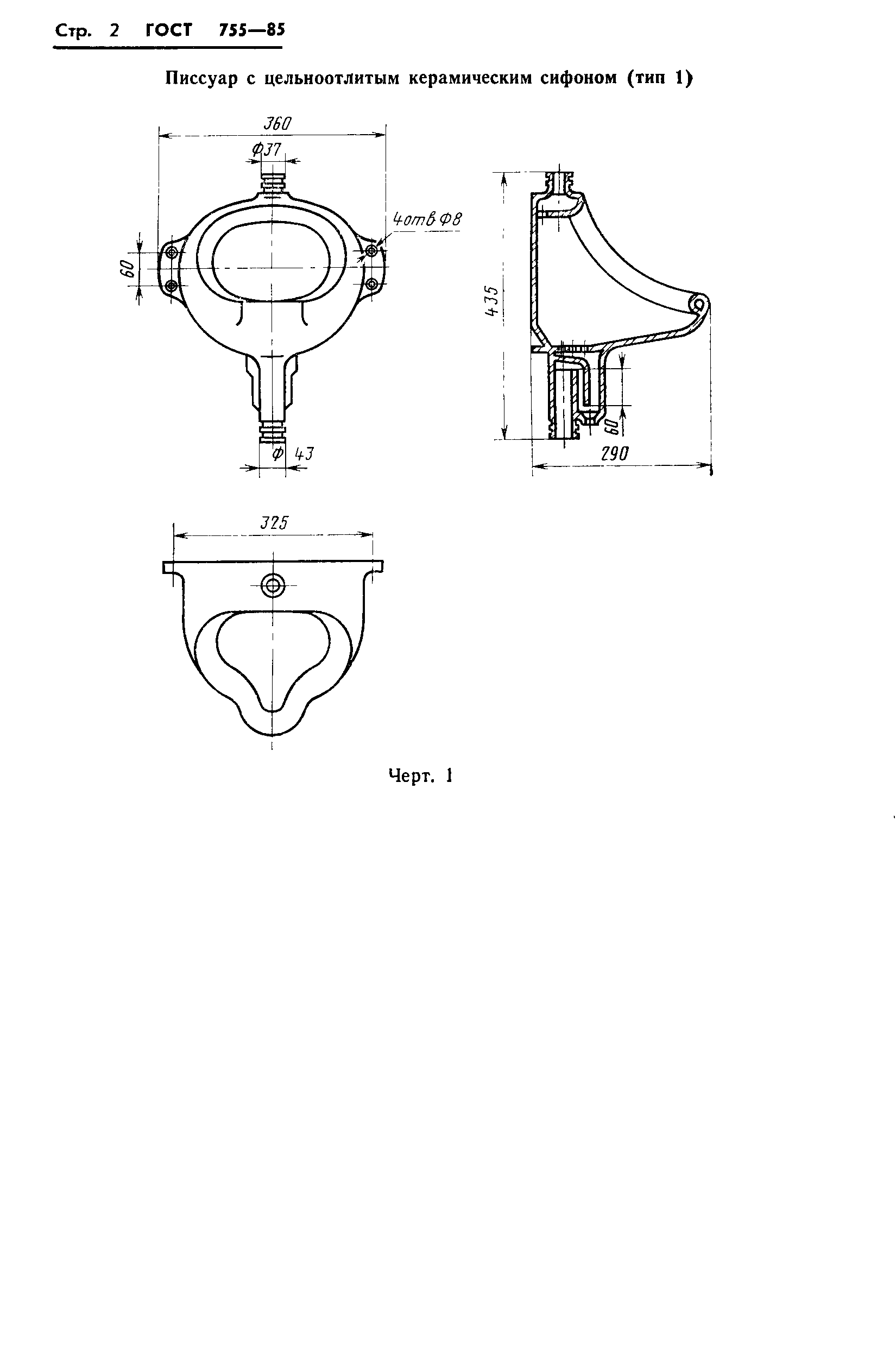
ГОСТ 755-85 Писсуары керамические настенные. Технические условия
ГОСТ
Скачать ГОСТ в PDF или DOC бесплатно
Основная информация
Обозначение:
ГОСТ 755-85
Статус:
Заменен
Тип:
ГОСТ
Название русское:
Писсуары керамические настенные. Технические условия
Название английское:
Ceramic wall urinals. Specifications
Даты и сроки
Дата издания:
10-17-85
Дата введения в действие:
06-30-86
Дата завершения срока действия:
01-01-98
Связи и замены
Заменяющий:
ГОСТ 30493-96
Взамен:
ГОСТ 755-72
Описание стандарта
ГОСТ 755-85 Писсуары керамические настенные. Технические условия
Страницы стандарта







