ГОСТ 19091-2000 Замки и защелки для дверей. Методы испытаний
ГОСТ
Скачать ГОСТ в PDF или DOC бесплатно
Основная информация
Обозначение:
ГОСТ 19091-2000
Статус:
Заменен
Тип:
ГОСТ
Название русское:
Замки и защелки для дверей. Методы испытаний
Название английское:
Locks and latches for doors. Methods and testing
Даты и сроки
Дата регистрации:
05-17-00
Дата издания:
01-01-01
Дата введения в действие:
07-01-01
Дата завершения срока действия:
01-01-14
Применение и описание
Область и условия применения:
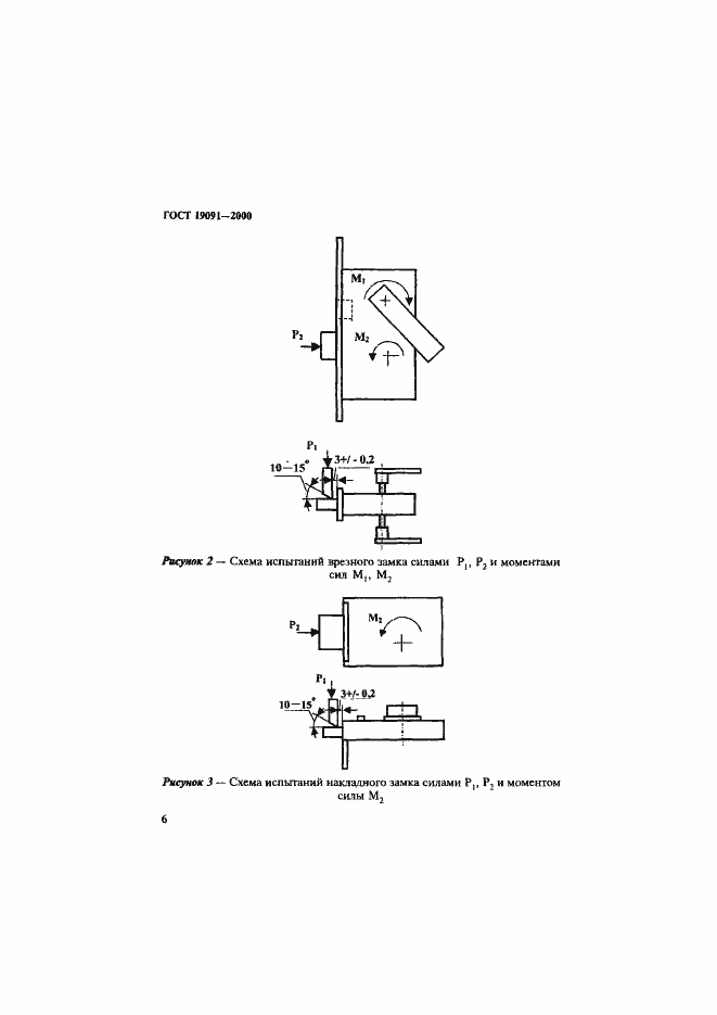
Настоящий стандарт распространяется на замки, защелки, механизмы цилиндровые (МЦ) для дверей различного назначения и устанавливает методы приемочных, периодических, типовых, сертификационных испытаний замков, защелок и МЦ на безотказность, прочность и определение эксплуатационных усилий. Методы испытаний основаны на имитации эксплуатационных нагрузок замков и защелок. Стандарт не устанавливает методы испытаний замков и МЦ по показателю стойкости к вскрытию (взлому)
Связи и замены
Заменяющий:
ГОСТ 19091-2012
Взамен:
ГОСТ 19091-82;ГОСТ 23306-87
Описание стандарта
ГОСТ 19091-2000 Замки и защелки для дверей. Методы испытаний
Страницы стандарта
















