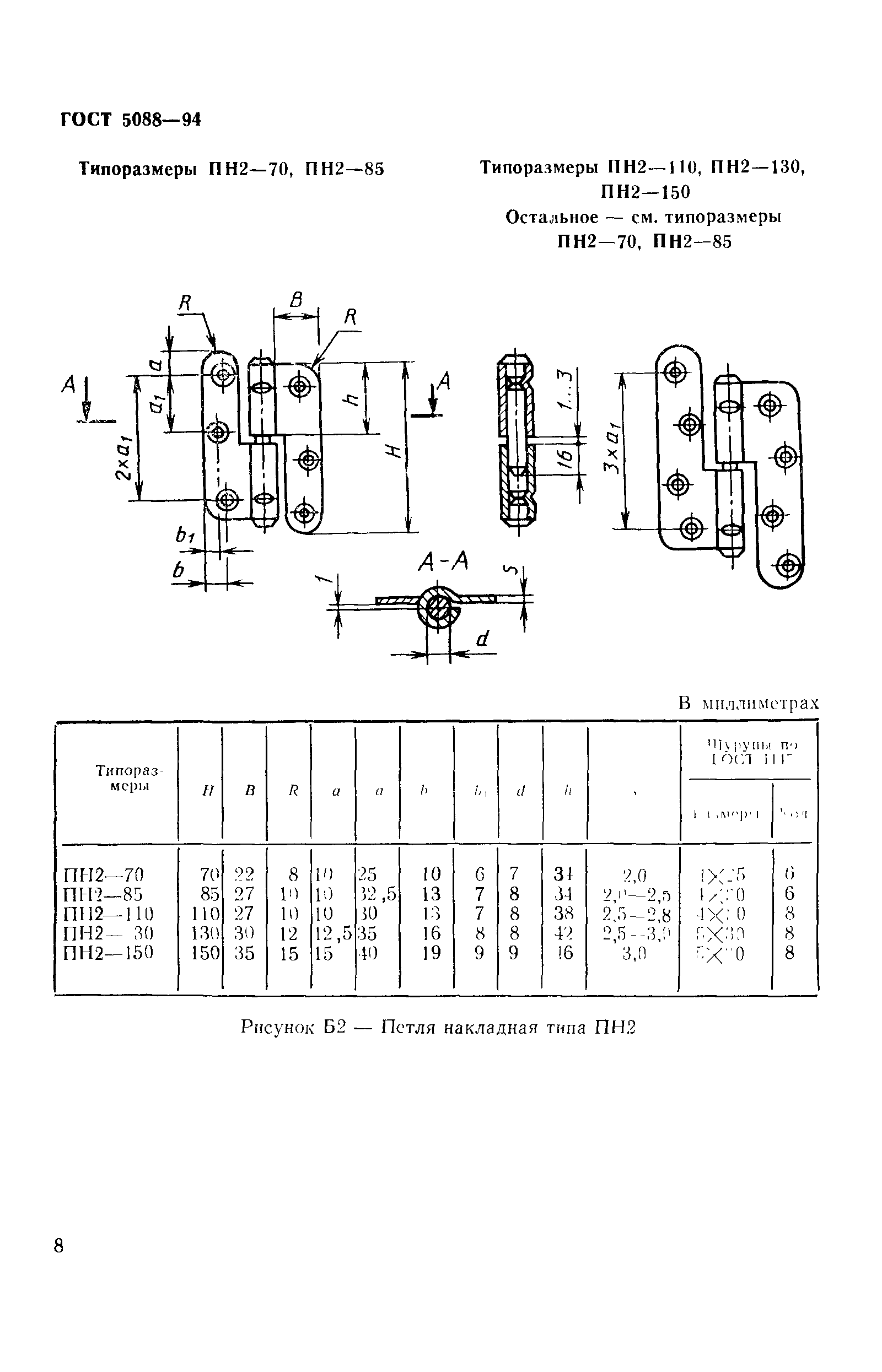
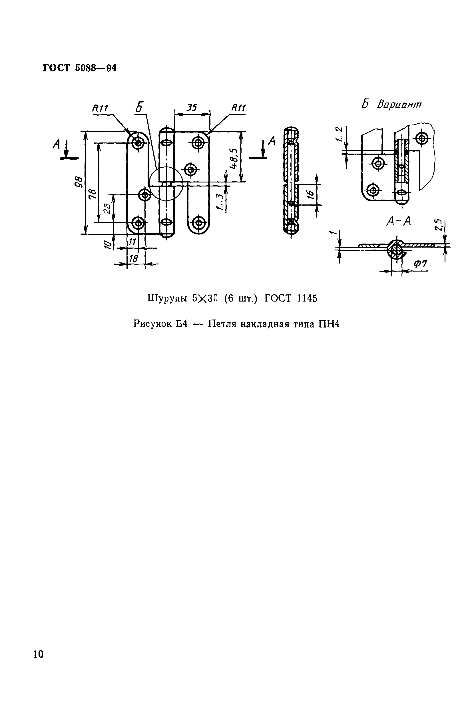
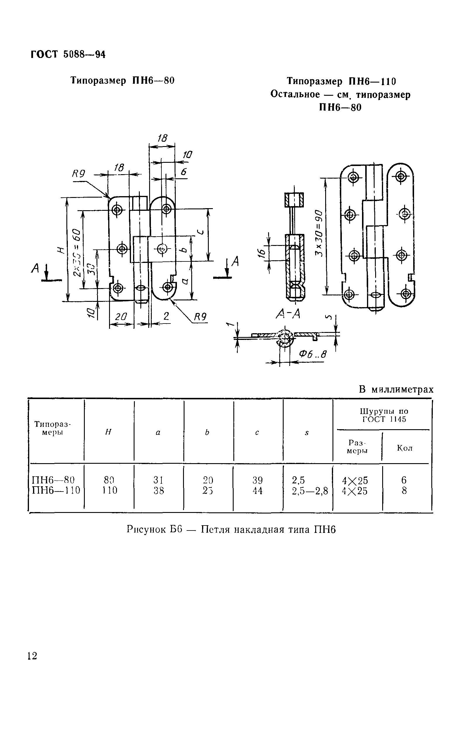
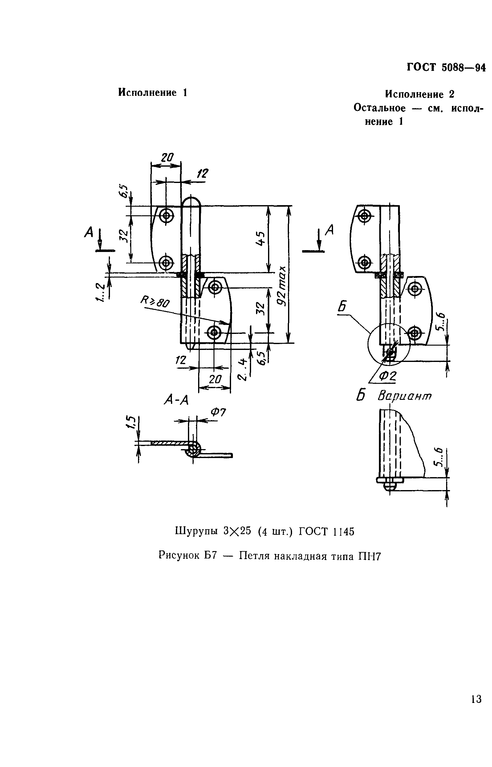
ГОСТ 5088-94 Петли стальные для деревянных окон и дверей. Технические условия
ГОСТ
Скачать ГОСТ в PDF или DOC бесплатно
Основная информация
Обозначение:
ГОСТ 5088-94
Статус:
Заменен
Тип:
ГОСТ
Название русское:
Петли стальные для деревянных окон и дверей. Технические условия
Название английское:
Steel hinges for wooden windows and doors. Specifications
Даты и сроки
Дата регистрации:
03-17-94
Дата издания:
10-20-95
Дата введения в действие:
08-31-95
Дата завершения срока действия:
01-01-07
Применение и описание
Область и условия применения:
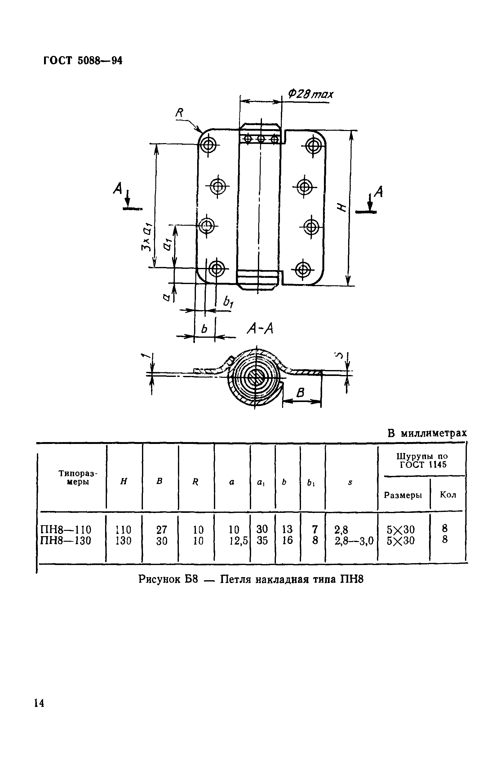
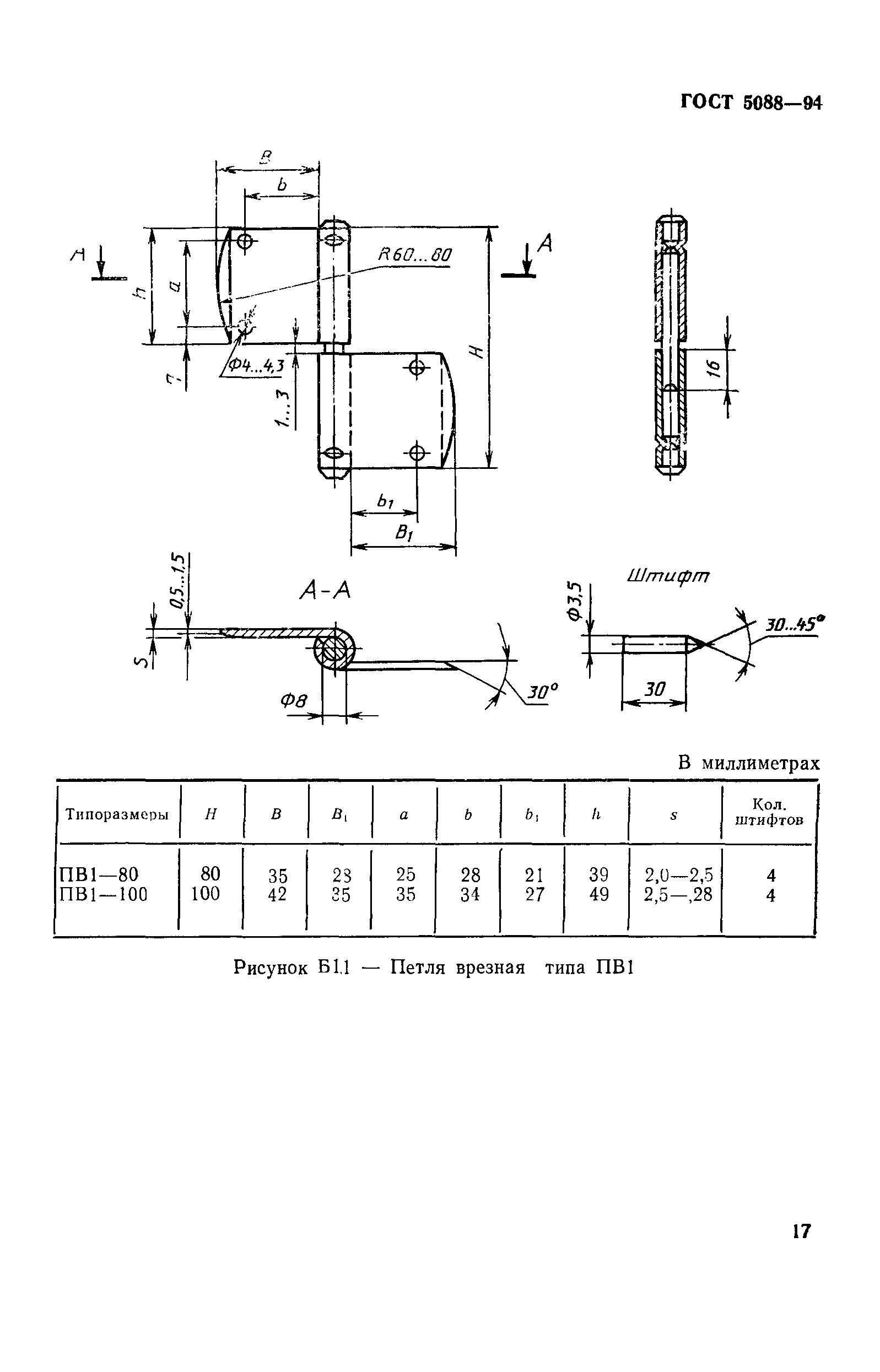
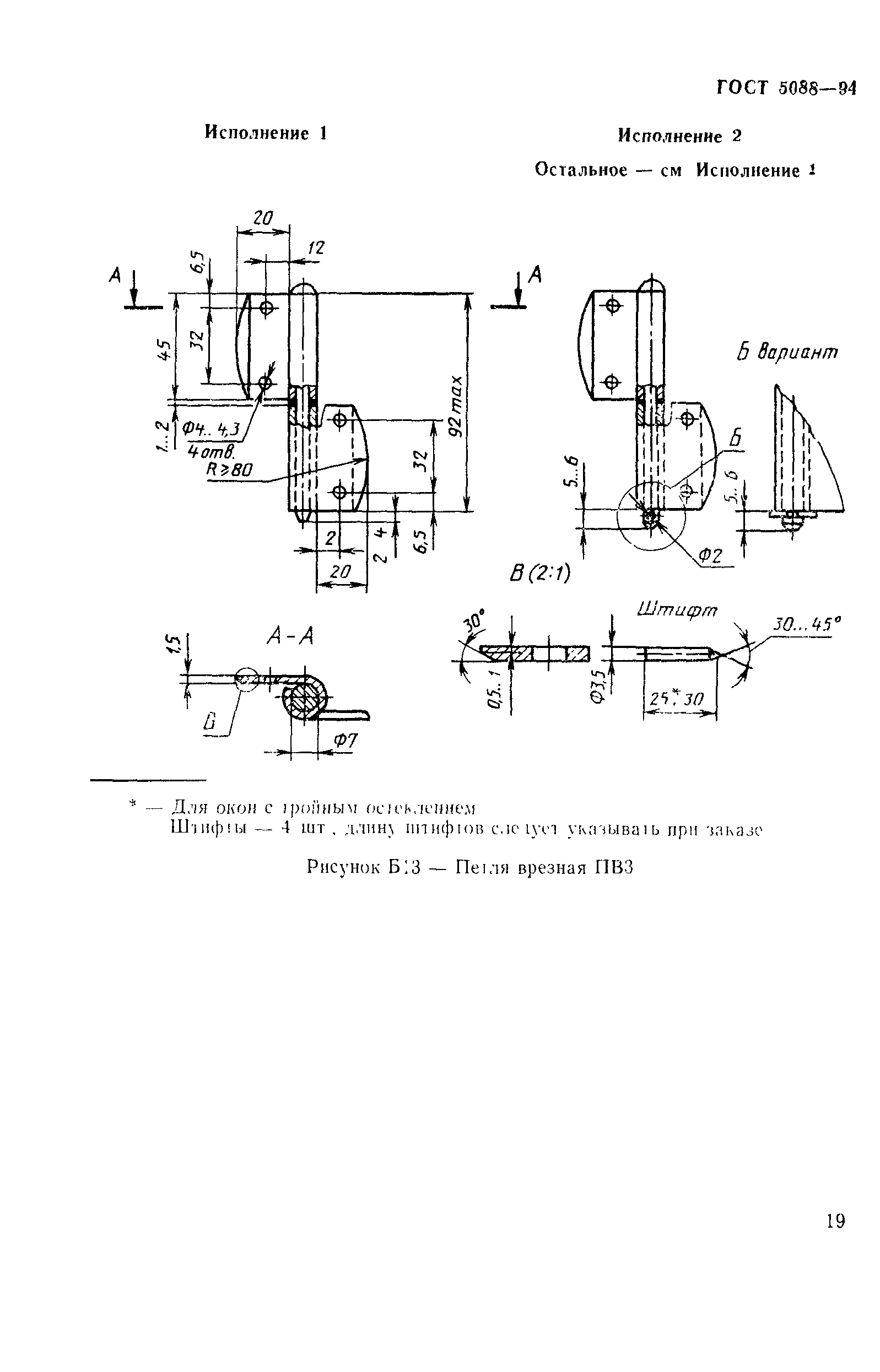
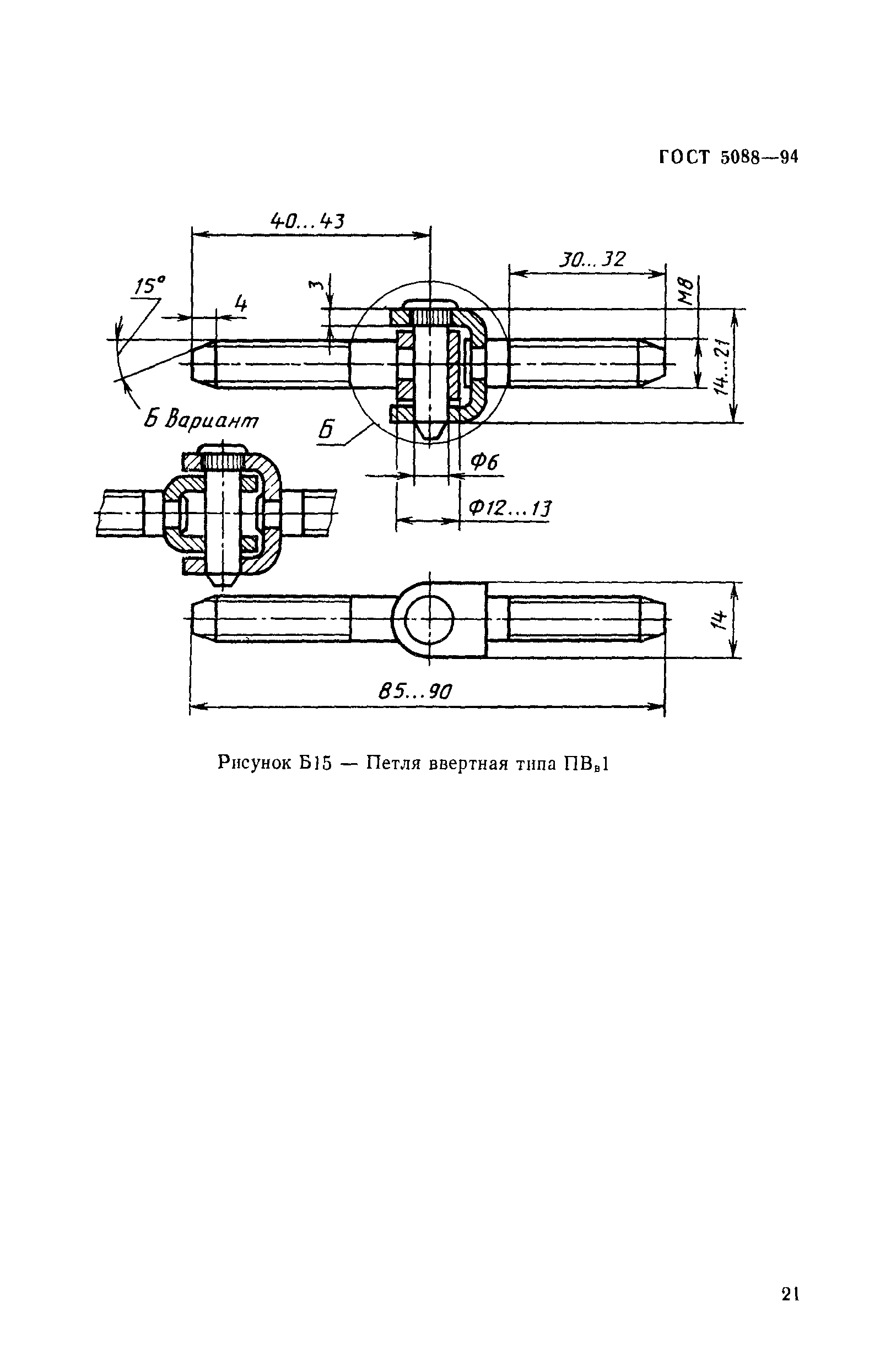
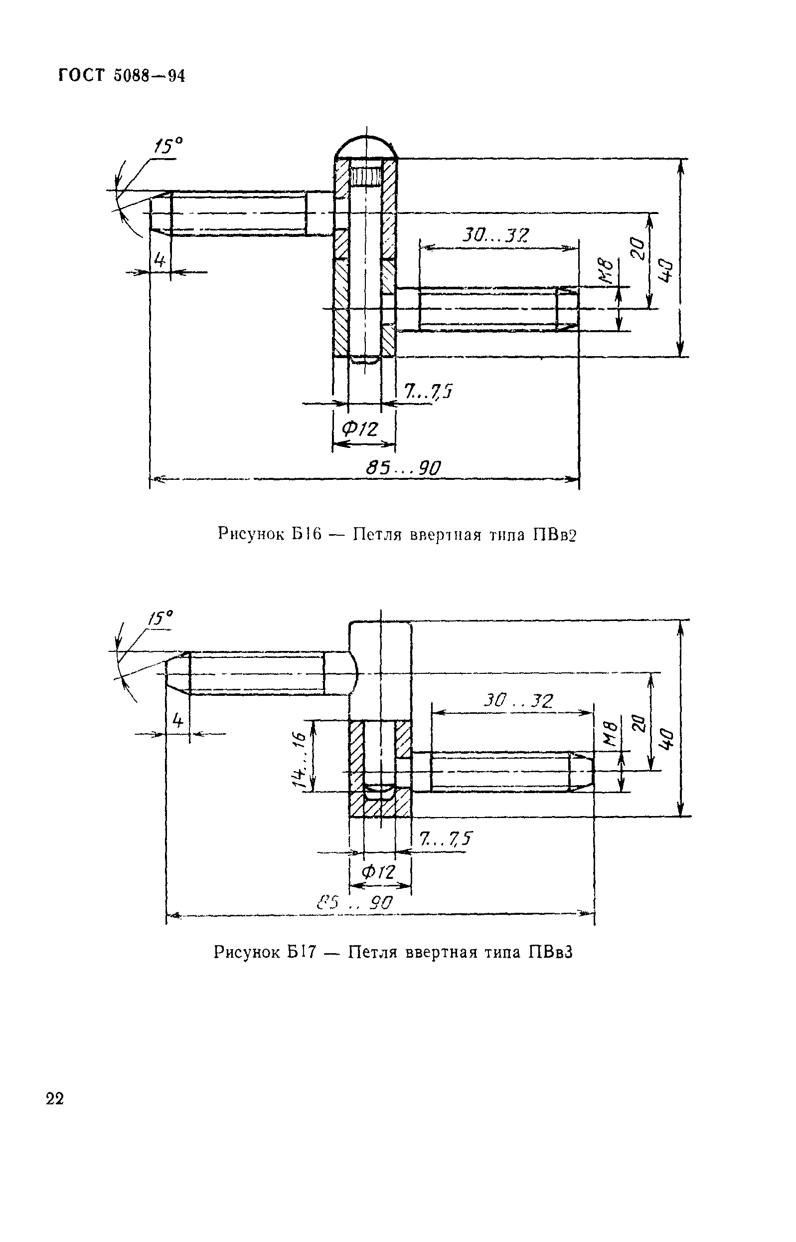
Настоящий стандарт распространяется на стальные петли для деревянных окон и дверей
Связи и замены
Заменяющий:
ГОСТ 5088-2005
Взамен:
ГОСТ 5088-78
Описание стандарта
ГОСТ 5088-94 Петли стальные для деревянных окон и дверей. Технические условия
Страницы стандарта


























