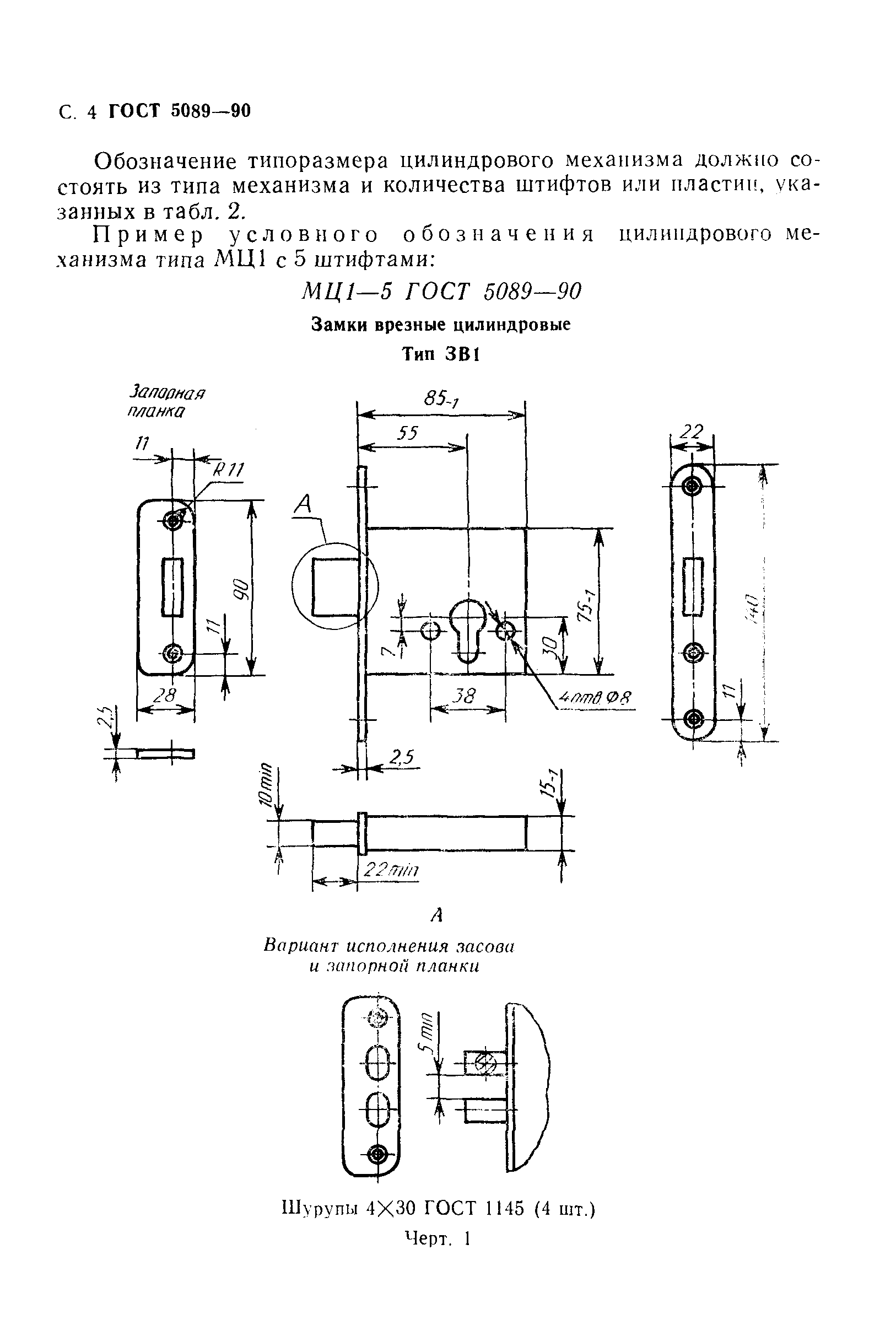
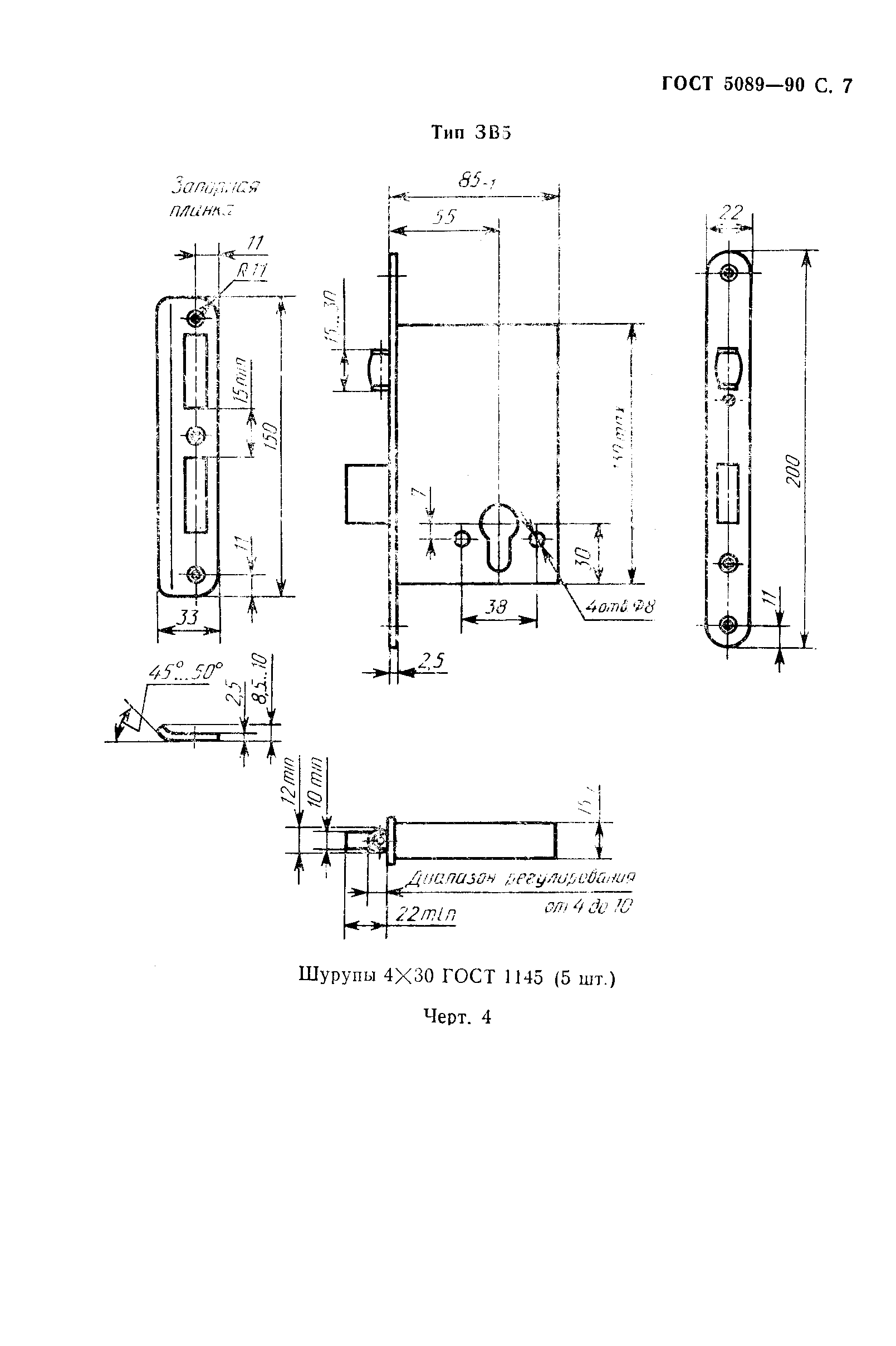
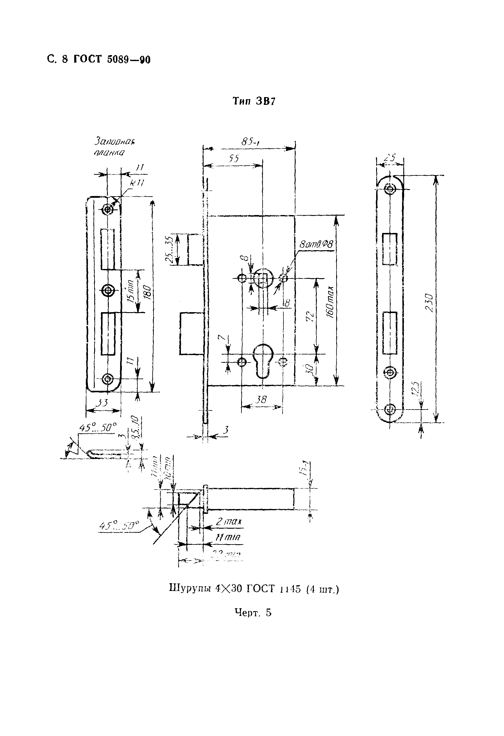
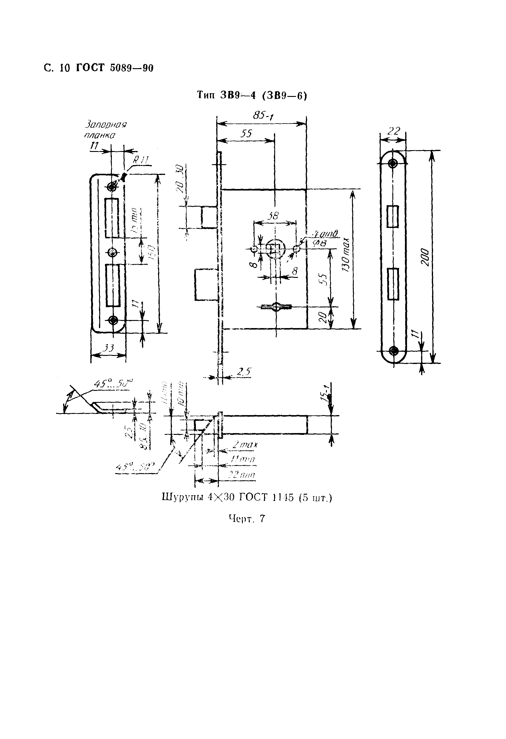
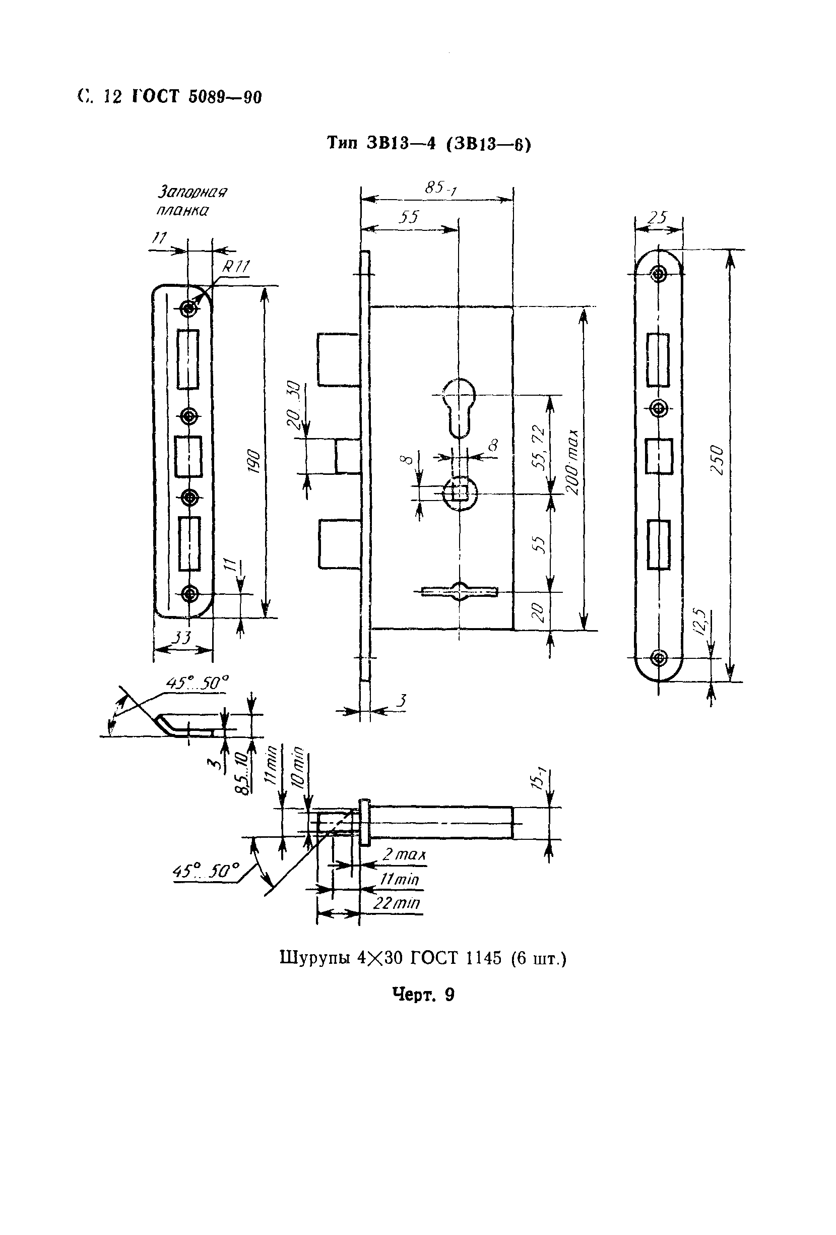
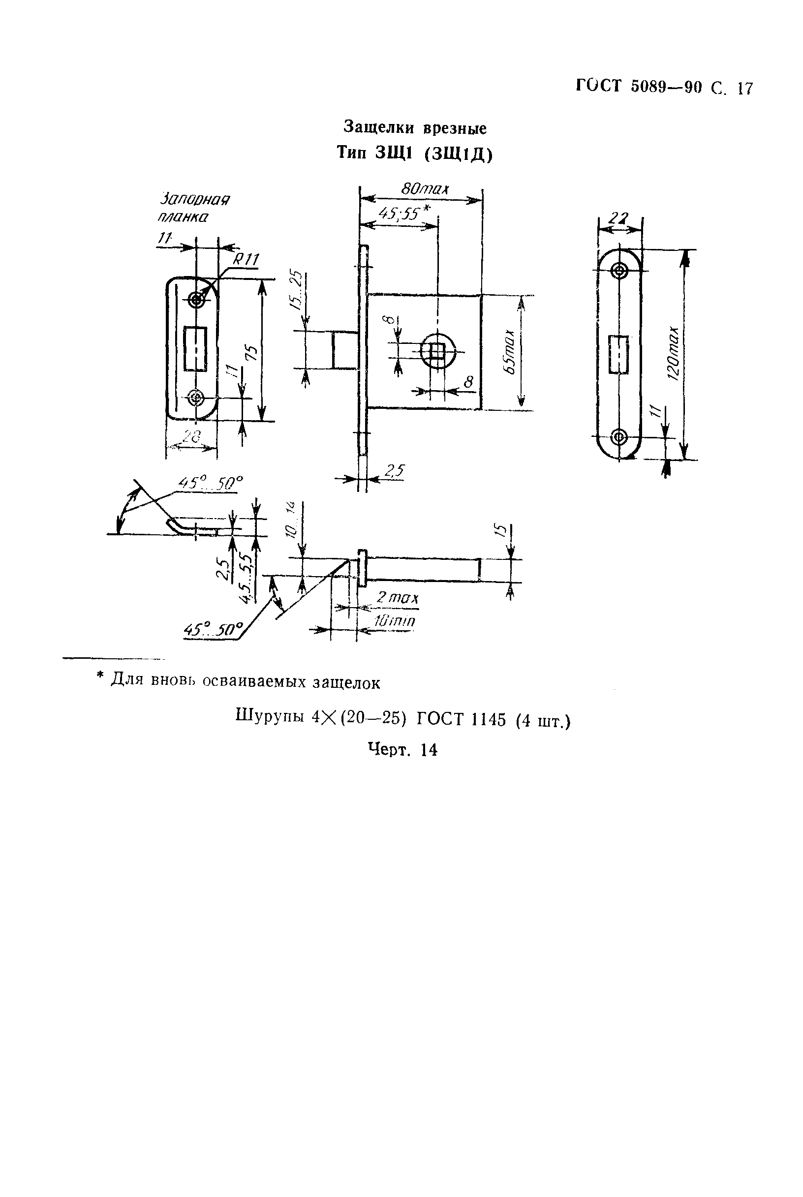
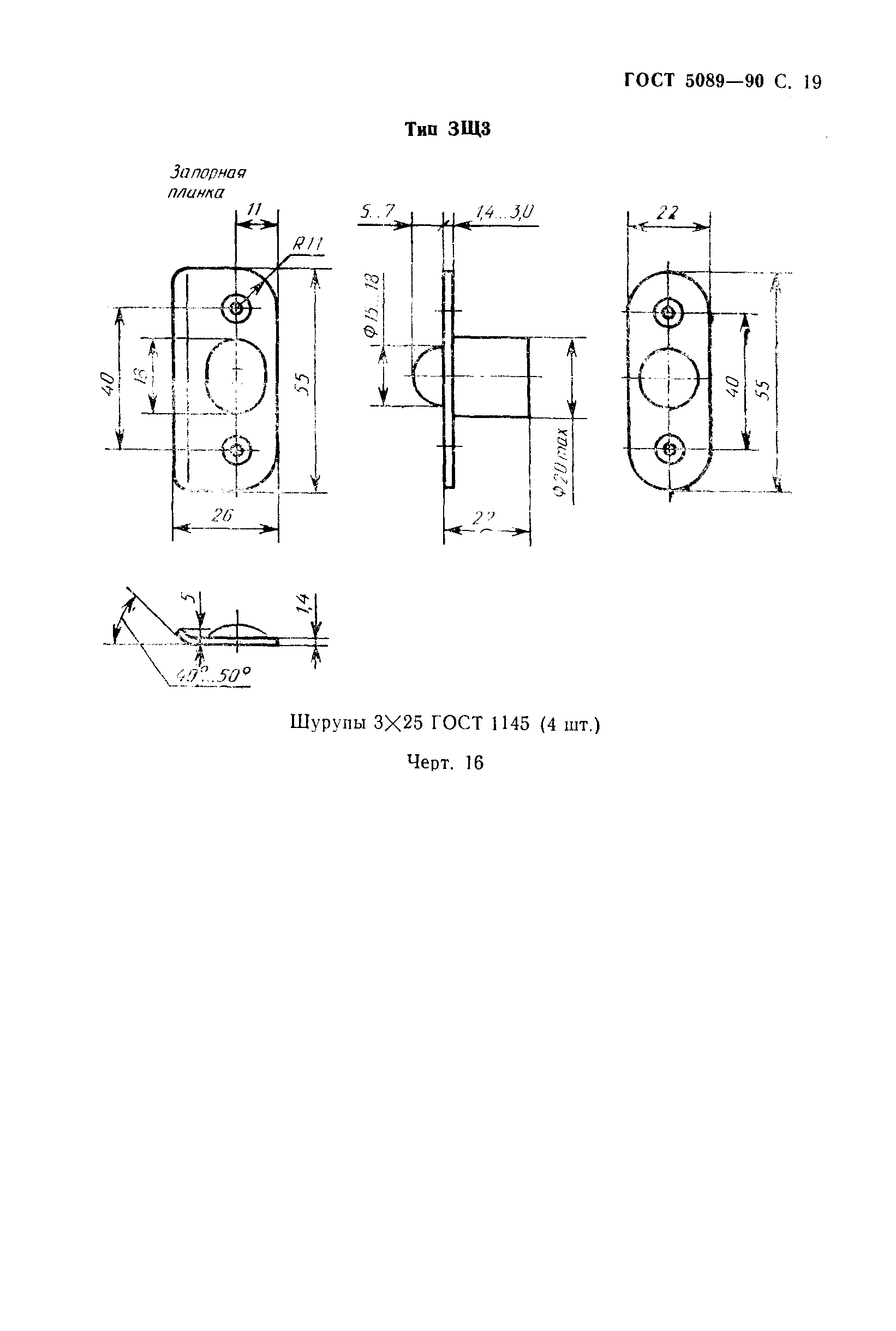
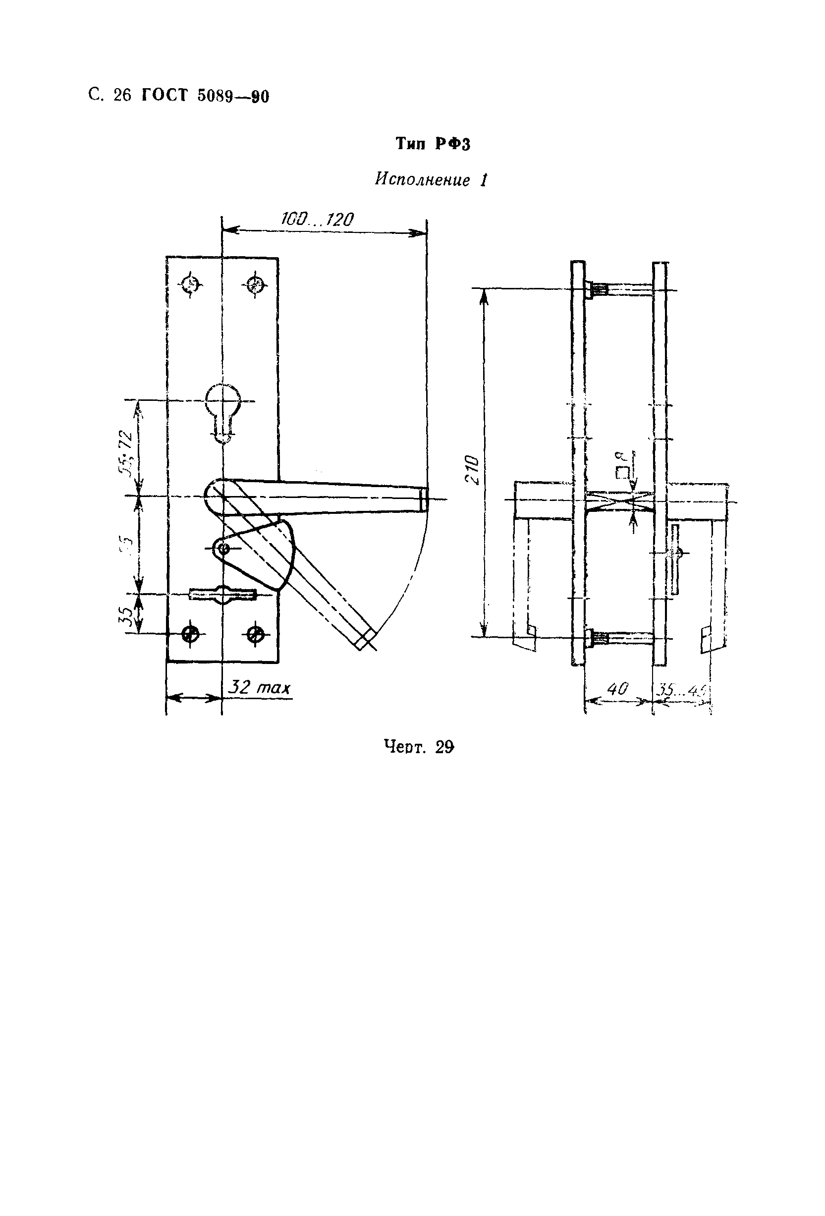
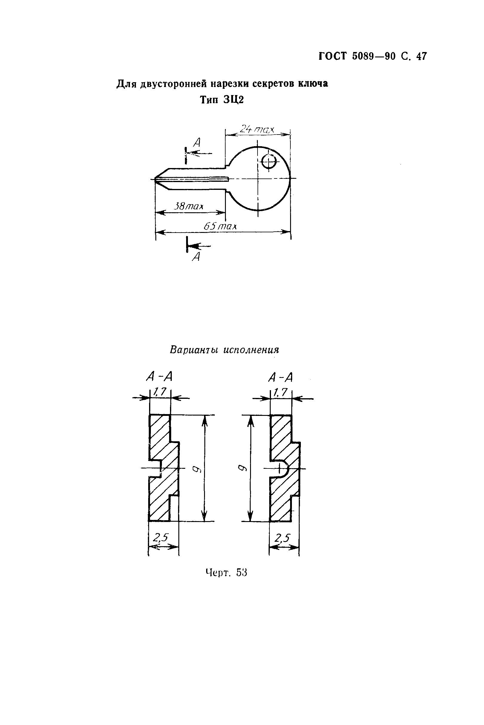
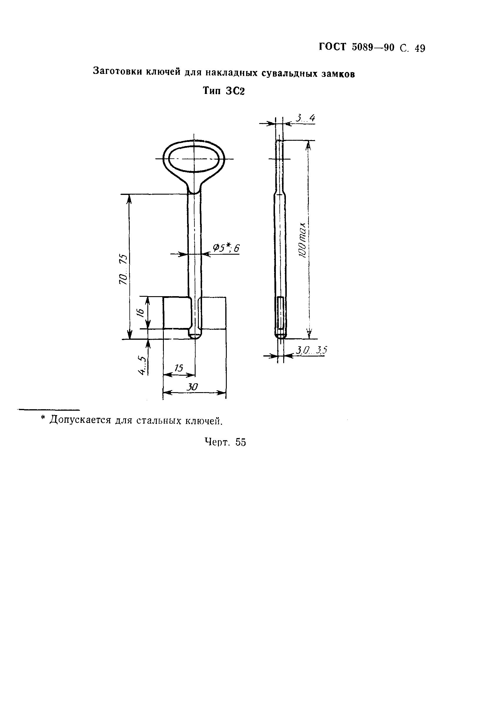
ГОСТ 5089-90 Замки и защелки для деревянных дверей. Типы и основные размеры
ГОСТ
Скачать ГОСТ в PDF или DOC бесплатно
Основная информация
Обозначение:
ГОСТ 5089-90
Статус:
Заменен
Тип:
ГОСТ
Название русское:
Замки и защелки для деревянных дверей. Типы и основные размеры
Название английское:
Locks and latches for wooden doors. Types and basis dimensions
Даты и сроки
Дата издания:
01-28-91
Дата введения в действие:
01-01-92
Дата завершения срока действия:
01-01-98
Применение и описание
Область и условия применения:
Настоящий стандарт распространяется на замки и защелки для деревянных дверей по ГОСТ 6629 и ГОСТ 24698, применяемых в жилых и общественных зданиях
Связи и замены
Заменяющий:
ГОСТ 5089-97
Взамен:
ГОСТ 5089-80
Описание стандарта
ГОСТ 5089-90 Замки и защелки для деревянных дверей. Типы и основные размеры
Страницы стандарта

























































