ГОСТ 13981-87 Формы для изготовления железобетонных виброгидропрессованных напорных труб. Технические условия
ГОСТ
Скачать ГОСТ в PDF или DOC бесплатно
Основная информация
Обозначение:
ГОСТ 13981-87
Статус:
Утратил силу в РФ
Тип:
ГОСТ
Название русское:
Формы для изготовления железобетонных виброгидропрессованных напорных труб. Технические условия
Название английское:
Forms for reinforced concrete pressure pipes made by vibrohydropressed method. Specifications
Даты и сроки
Дата издания:
04-14-88
Дата введения в действие:
01-01-89
Дата завершения срока действия:
09-01-20
Применение и описание
Область и условия применения:
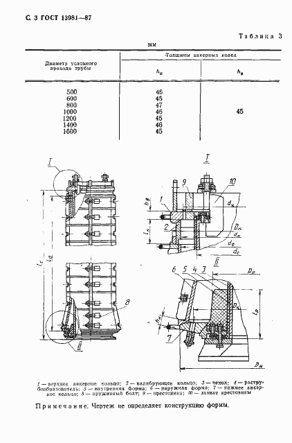
Настоящий стандарт распространяется на стальные формы, предназначенные для изготовления железобетонных виброгидропрессованных напорных труб и поставляемые для нужд народного хозяйства и на экспорт
Связи и замены
Заменяющий:
-
Взамен:
ГОСТ 13981-77
Описание стандарта
ГОСТ 13981-87 Формы для изготовления железобетонных виброгидропрессованных напорных труб. Технические условия
Страницы стандарта
















