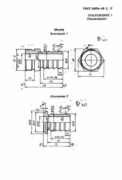
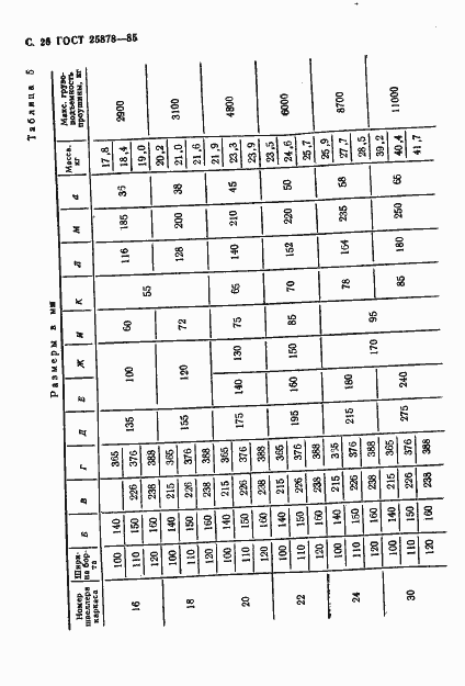
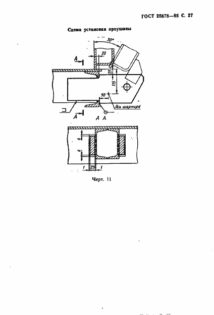
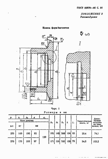
ГОСТ 25878-85 Формы стальные для изготовления железобетонных изделий. Поддоны. Конструкция и размеры
ГОСТ
Скачать ГОСТ в PDF или DOC бесплатно
Основная информация
Обозначение:
ГОСТ 25878-85
Статус:
Заменен
Тип:
ГОСТ
Название русское:
Формы стальные для изготовления железобетонных изделий. Поддоны. Конструкция и размеры
Название английское:
Steel moulds for reinforced concrete members. Pallets. Construction and dimensions
Даты и сроки
Дата издания:
03-01-94
Дата введения в действие:
01-01-87
Дата завершения срока действия:
09-01-19
Применение и описание
Область и условия применения:
Настоящий стандарт распространяется на поддоны стальных форм для изготовления железобетонных изделий и устанавливает требования к конструкции и размерам основных сборочных единиц и деталей поддонов
Связи и замены
Заменяющий:
ГОСТ 25878-2018
Взамен:
ГОСТ 25878.2-83;ГОСТ 25878.3-83
Изменения и переиздания
Список изменений:
№1 от (рег. ) «Срок действия продлен»
Описание стандарта
ГОСТ 25878-85 Формы стальные для изготовления железобетонных изделий. Поддоны. Конструкция и размеры
Страницы стандарта










































