ГОСТ 27204-87 Формы стальные для изготовления железобетонных изделий. Борта. Конструкция и размеры
ГОСТ
Скачать ГОСТ в PDF или DOC бесплатно
Основная информация
Обозначение:
ГОСТ 27204-87
Статус:
Утратил силу в РФ
Тип:
ГОСТ
Название русское:
Формы стальные для изготовления железобетонных изделий. Борта. Конструкция и размеры
Название английское:
Steel moulds for reinforced concrete members. Sides. Construction and dimensions
Даты и сроки
Дата издания:
05-28-87
Дата введения в действие:
01-01-88
Дата завершения срока действия:
01-01-22
Применение и описание
Область и условия применения:
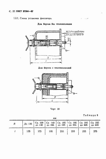
Настоящий стандарт распространяется на откидные борта стальных форм для изготовления железобетонных изделий по ГОСТ 25781-83 и устанавливает требования к конструкции и размерам основных сборочных единиц и деталей стандартизуемых элементов. Стандарт не распространяется на борта, воспринимающие усилия натяжения арматуры при изготовлении предварительно напряженных железобетонных изделий
Связи и замены
Заменяющий:
-
Изменения и переиздания
Список изменений:
№1 от (рег. ) «Срок действия продлен»
Описание стандарта
ГОСТ 27204-87 Формы стальные для изготовления железобетонных изделий. Борта. Конструкция и размеры
Страницы стандарта




































