ГОСТ 28715-90 Формы стальные для изготовления железобетонных изделий. Проемообразователи и вкладыши. Конструкция
ГОСТ
Скачать ГОСТ в PDF или DOC бесплатно
Основная информация
Обозначение:
ГОСТ 28715-90
Статус:
Утратил силу в РФ
Тип:
ГОСТ
Название русское:
Формы стальные для изготовления железобетонных изделий. Проемообразователи и вкладыши. Конструкция
Название английское:
Steel monlds for reinforced concrete members. Elements forming openings and recesses. Design
Даты и сроки
Дата издания:
03-20-91
Дата введения в действие:
01-01-91
Дата завершения срока действия:
09-01-20
Применение и описание
Область и условия применения:
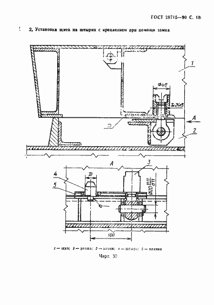
Настоящий стандарт распространяется на сварные проемообразователи и вкладыши стальных форм для изготовления железобетонных изделий по ГОСТ 25781 и элементы их крепления к форме и устанавливает требования к конструкции основных стандартизируемых сборочных единиц и деталей. Стандарт не распространяется на проемообразователи и вкладыши, изготовляемые из стальных, чугунных и алюминиевых отливок и полимерных материалов, на устройства, образующие в изделии каналы для электропроводки, и злементы архитектурного назначения
Связи и замены
Заменяющий:
-
Описание стандарта
ГОСТ 28715-90 Формы стальные для изготовления железобетонных изделий. Проемообразователи и вкладыши. Конструкция
Страницы стандарта



















