ГОСТ ISO 18652-2014 Машины и оборудование строительные. Внешние вибраторы для бетона
ГОСТ ИСО
Скачать ГОСТ в PDF или DOC бесплатно
Основная информация
Обозначение:
ГОСТ ISO 18652-2014
Статус:
Действует
Тип:
ГОСТ ИСО
Название русское:
Машины и оборудование строительные. Внешние вибраторы для бетона
Название английское:
Building construction machinery and equipment. External vibrators for concrete
Даты и сроки
Дата регистрации:
12-22-14
Дата издания:
10-01-15
Дата введения в действие:
11-01-15
Дата завершения срока действия:
-
Применение и описание
Область и условия применения:
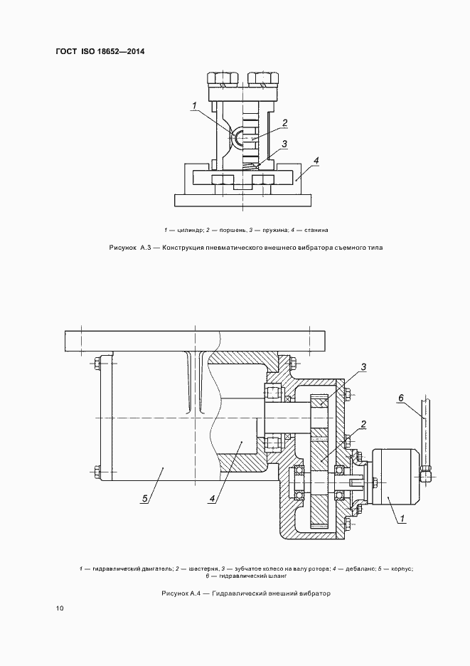
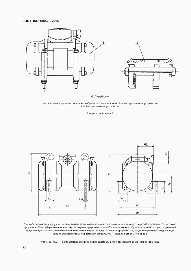
Настоящий стандарт устанавливает терминологию и определяет классификацию, эксплуатационные требования, методы испытаний, назначение и технические характеристики внешних вибраторов для бетона. Настоящий стандарт применяется к внешним вибраторам с механическим приводом, предназначенным для уплотнения бетонной смеси вибрацией с наружной стороны
Связи и замены
Заменяющий:
-
Описание стандарта
ГОСТ ISO 18652-2014 Машины и оборудование строительные. Внешние вибраторы для бетона
Страницы стандарта























