ГОСТ Р 21.101-2020 Система проектной документации для строительства. Основные требования к проектной и рабочей документации
ГОСТ Р
Скачать ГОСТ в PDF или DOC бесплатно
Основная информация
Обозначение:
ГОСТ Р 21.101-2020
Статус:
Действует
Тип:
ГОСТ Р
Название русское:
Система проектной документации для строительства. Основные требования к проектной и рабочей документации
Название английское:
System of design documentation for construction. Main requirements for design and working documentation
Даты и сроки
Дата издания:
07-22-20
Дата введения в действие:
01-01-21
Дата завершения срока действия:
-
Применение и описание
Область и условия применения:
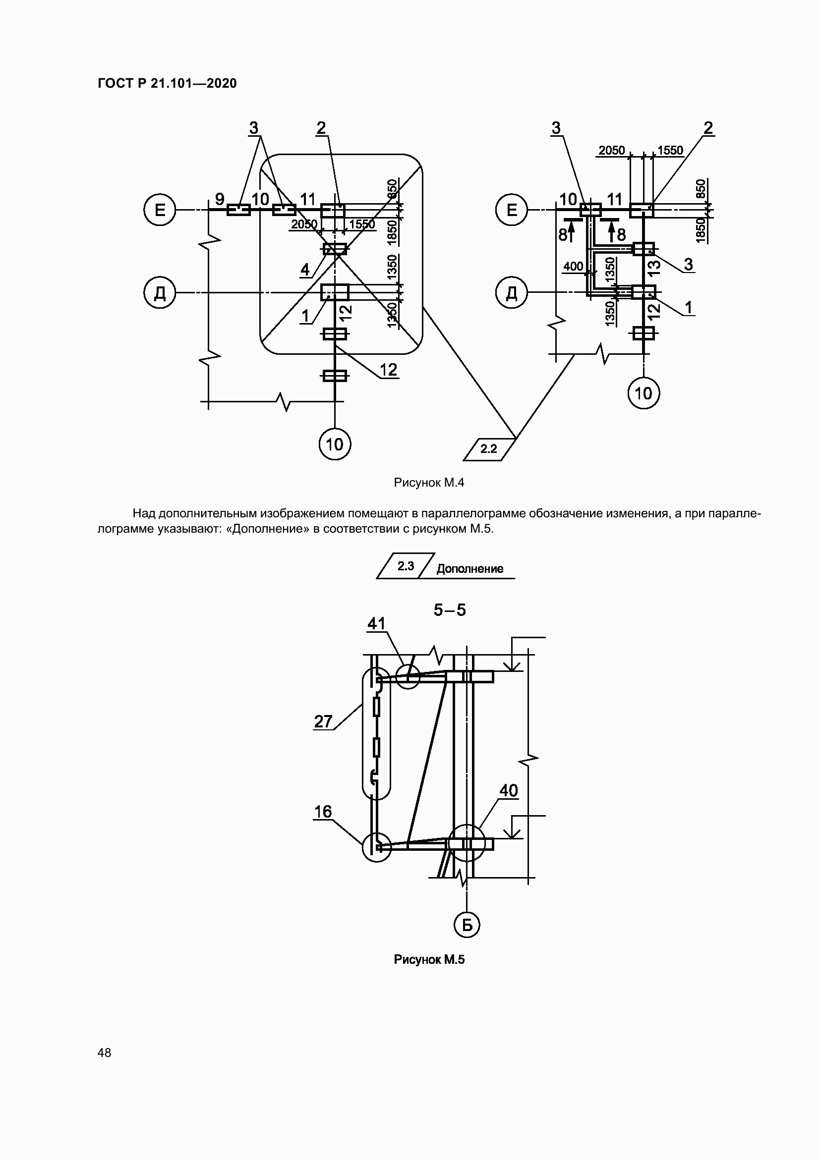
Настоящий стандарт устанавливает основные требования к проектной и рабочей документации для строительства объектов различного назначения. Общие правила выполнения графической и текстовой документации, установленные в разделе 5 и правила внесения изменений, установленные в разделе 7, распространяются также на отчетную техническую документацию по результатам инженерных изысканий для строительства
Связи и замены
Заменяющий:
-
Взамен:
ГОСТ Р 21.1101-2013
Описание стандарта
ГОСТ Р 21.101-2020 Система проектной документации для строительства. Основные требования к проектной и рабочей документации
Страницы стандарта







































































Приложение №1: Поправка к ГОСТ Р 21.101-2020 Обозначение: Поправка к ГОСТ Р 21.101-2020 Дата введения в действие: 08.12.2023
