ГОСТ Р 59199-2020 Оснастка монтажная для временного закрепления и выверки конструкций зданий. Общие технические условия
ГОСТ Р
Скачать ГОСТ в PDF или DOC бесплатно
Основная информация
Обозначение:
ГОСТ Р 59199-2020
Статус:
Действует
Тип:
ГОСТ Р
Название русское:
Оснастка монтажная для временного закрепления и выверки конструкций зданий. Общие технические условия
Название английское:
Assembling equipment for temporary fastening and adjusting construction buildings. General specifications
Даты и сроки
Дата издания:
12-11-20
Дата введения в действие:
01-01-21
Дата завершения срока действия:
-
Применение и описание
Область и условия применения:
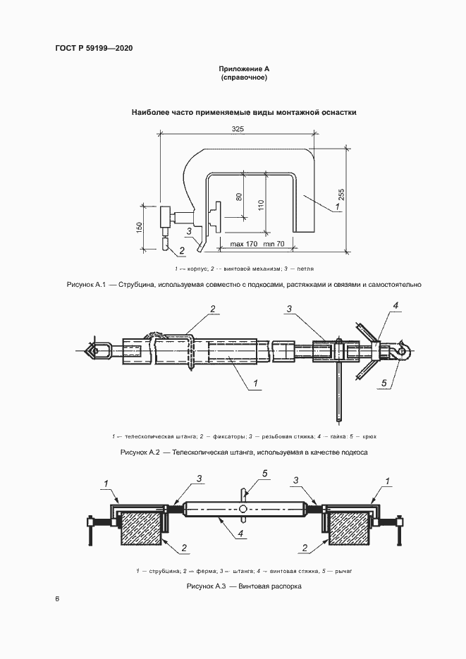
Настоящий стандарт распространяется на монтажную оснастку, включающую в себя набор монтажных приспособлений для временного закрепления и выверки конструкций зданий. Стандарт устанавливает основные требования к конструкции и техническим характеристикам монтажной оснастки, правилам приемки и указаниям по эксплуатации
Связи и замены
Заменяющий:
-
Описание стандарта
ГОСТ Р 59199-2020 Оснастка монтажная для временного закрепления и выверки конструкций зданий. Общие технические условия
Страницы стандарта













