ГОСТы >
93.020 Земляные работы. Выемка грунта. Сооружение фундаментов. Подземные работы >
ГОСТ 34276-2017
ГОСТ 34276-2017 Грунты. Методы лабораторного определения удельного сопротивления пенетрации
ГОСТ
Скачать ГОСТ в PDF или DOC бесплатно
Основная информация
Обозначение:
ГОСТ 34276-2017
Статус:
Действует
Тип:
ГОСТ
Название русское:
Грунты. Методы лабораторного определения удельного сопротивления пенетрации
Название английское:
Soils. Methods of laboratory determination of the specific resistance to penetration
Даты и сроки
Дата регистрации:
09-25-17
Дата издания:
09-17-19
Дата введения в действие:
03-01-18
Дата завершения срока действия:
-
Применение и описание
Область и условия применения:
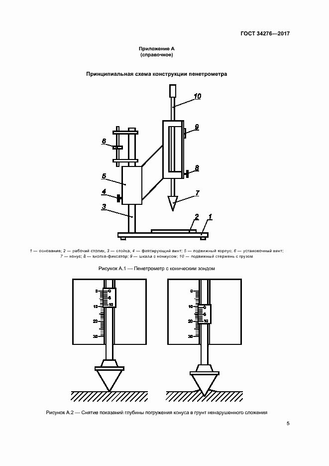
Настоящий стандарт распространяется на дисперсные связные органоминеральные (илы, сапропели) и минеральные (глинистые) грунты и устанавливает методы лабораторного определения удельного сопротивления пенетрации (сопротивления недренированному сдвигу) в ненарушенном (природном) сложении при исследовании этих грунтов для строительства. Настоящий стандарт не распространяется на глинистые грунты, содержащие крупнообломочные включения более 2 мм в количестве более 10 %, а также на грунты в мерзлом состоянии
Связи и замены
Заменяющий:
-
Описание стандарта
ГОСТ 34276-2017 Грунты. Методы лабораторного определения удельного сопротивления пенетрации
Страницы стандарта










