ГОСТ 3634-99 Люки смотровых колодцев и дождеприемники ливнесточных колодцев. Технические условия
ГОСТ
Скачать ГОСТ в PDF или DOC бесплатно
Основная информация
Обозначение:
ГОСТ 3634-99
Статус:
Заменен
Тип:
ГОСТ
Название русское:
Люки смотровых колодцев и дождеприемники ливнесточных колодцев. Технические условия
Название английское:
Access manhole covers and storm-flow receivers for manholes. Technical requirements
Даты и сроки
Дата регистрации:
12-02-99
Дата издания:
12-18-00
Дата введения в действие:
01-01-01
Дата завершения срока действия:
06-01-20
Применение и описание
Область и условия применения:
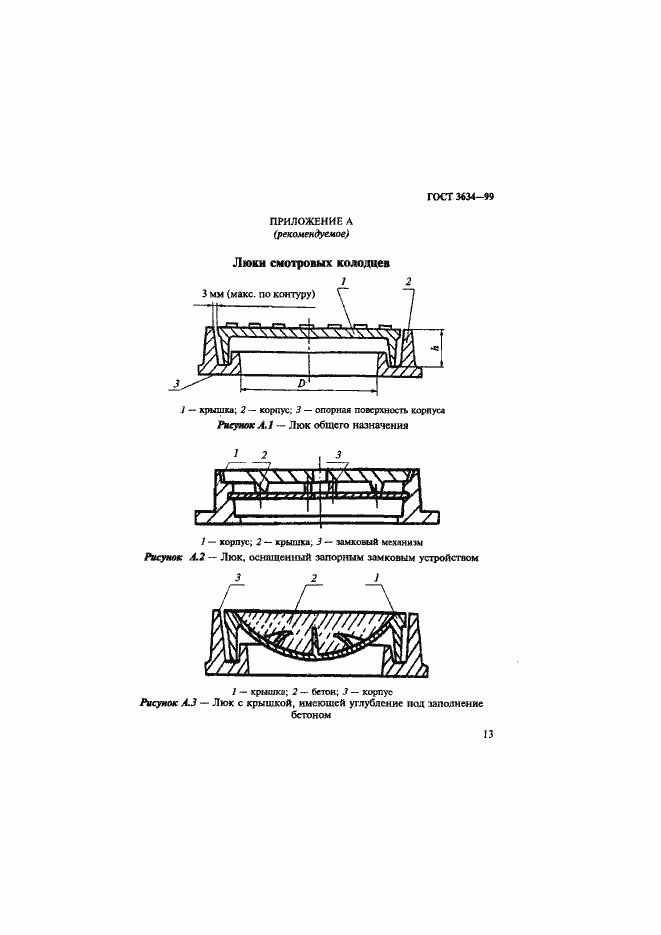
Настоящий стандарт распространяется на люки колодцев и камер подземных инженерных городских коммуникаций: тепловых, газовых и кабельных сетей, водопровода, канализации, а также на дождеприемники ливневой канализации, предназначенные для приема поверхностных сточных вод и атмосферных осадков. Решетки дождеприемников, выполненные по настоящему стандарту, нельзя устанавливать в полу помещений и на крыше зданий
Связи и замены
Заменяющий:
ГОСТ 3634-2019
Взамен:
ГОСТ 3634-89;ГОСТ 26008-83
Изменения и переиздания
Список изменений:
№0 от (рег. ) «Дата введения перенесена»
Описание стандарта
ГОСТ 3634-99 Люки смотровых колодцев и дождеприемники ливнесточных колодцев. Технические условия
Страницы стандарта
























Приложение №1: Поправка к ГОСТ 3634-99 Обозначение: Поправка к ГОСТ 3634-99 Дата введения в действие: 25.03.2016
