ГОСТ 17581-72 Знаки сигнальные механические флажкового типа средств предупреждения. Конструкция, размеры и технические требования
ГОСТ
Скачать ГОСТ в PDF или DOC бесплатно
Основная информация
Обозначение:
ГОСТ 17581-72
Статус:
Действует
Тип:
ГОСТ
Название русское:
Знаки сигнальные механические флажкового типа средств предупреждения. Конструкция, размеры и технические требования
Название английское:
Mechanical signal flags of warning means. Design, dimensions and technical requirements
Даты и сроки
Дата издания:
06-01-92
Дата введения в действие:
06-30-73
Дата завершения срока действия:
-
Применение и описание
Область и условия применения:
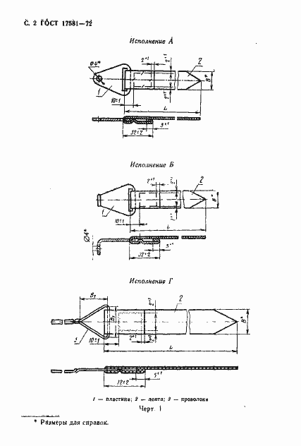
Настоящий стандарт распространяется на сигнальные механические знаки флажкового типа, устанавливаемые на фиксирующих элементах, предохраняющих механизмы от самопроизвольного срабатывания в период монтажа и подготовки изделий к эксплуатации, и являющиеся средством, сигнализирующим о незаконченности подготовки изделий к выполнению заданных функций. Стандарт устанавливает конструкцию, размеры и технические требования к флажкам, предназначенным для учета и контроля снятия специальных принадлежностей и технологических элементов
Связи и замены
Заменяющий:
-
Изменения и переиздания
Список изменений:
№1 от (рег. ) «Срок действия продлен» №2 от (рег. ) «Срок действия продлен» №3 от (рег. ) «Срок действия продлен»
Описание стандарта
ГОСТ 17581-72 Знаки сигнальные механические флажкового типа средств предупреждения. Конструкция, размеры и технические требования
Страницы стандарта











