ГОСТ Р 55186-2012 Ригели жестких поперечин для контактной сети железнодорожного транспорта. Общие технические условия
ГОСТ Р
Скачать ГОСТ в PDF или DOC бесплатно
Основная информация
Обозначение:
ГОСТ Р 55186-2012
Статус:
Отменен
Тип:
ГОСТ Р
Название русское:
Ригели жестких поперечин для контактной сети железнодорожного транспорта. Общие технические условия
Название английское:
Cross beams of rigid portals for overhead contact line of railway transport. General specifications
Даты и сроки
Дата издания:
06-13-13
Дата введения в действие:
09-01-13
Дата завершения срока действия:
04-01-17
Применение и описание
Область и условия применения:
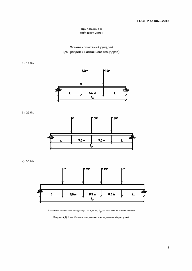
Настоящий стандарт распространяется на ригели жестких поперечин для контактной сети железнодорожного транспорта (далее - ригели) и устанавливает общие технические условия
Связи и замены
Заменяющий:
-
Изменения и переиздания
Список изменений:
№0 от (рег. ) «Текстовое изменение; Изменено заглавие»
Описание стандарта
ГОСТ Р 55186-2012 Ригели жестких поперечин для контактной сети железнодорожного транспорта. Общие технические условия
Страницы стандарта























