ГОСТ 25269-82 Аэродромы. Дневная маркировка грунтовых аэродромов
ГОСТ
Скачать ГОСТ в PDF или DOC бесплатно
Основная информация
Обозначение:
ГОСТ 25269-82
Статус:
Действует
Тип:
ГОСТ
Название русское:
Аэродромы. Дневная маркировка грунтовых аэродромов
Название английское:
Airfields. Day marking unpaved airfields
Даты и сроки
Дата издания:
09-09-82
Дата введения в действие:
06-30-83
Дата завершения срока действия:
-
Применение и описание
Область и условия применения:
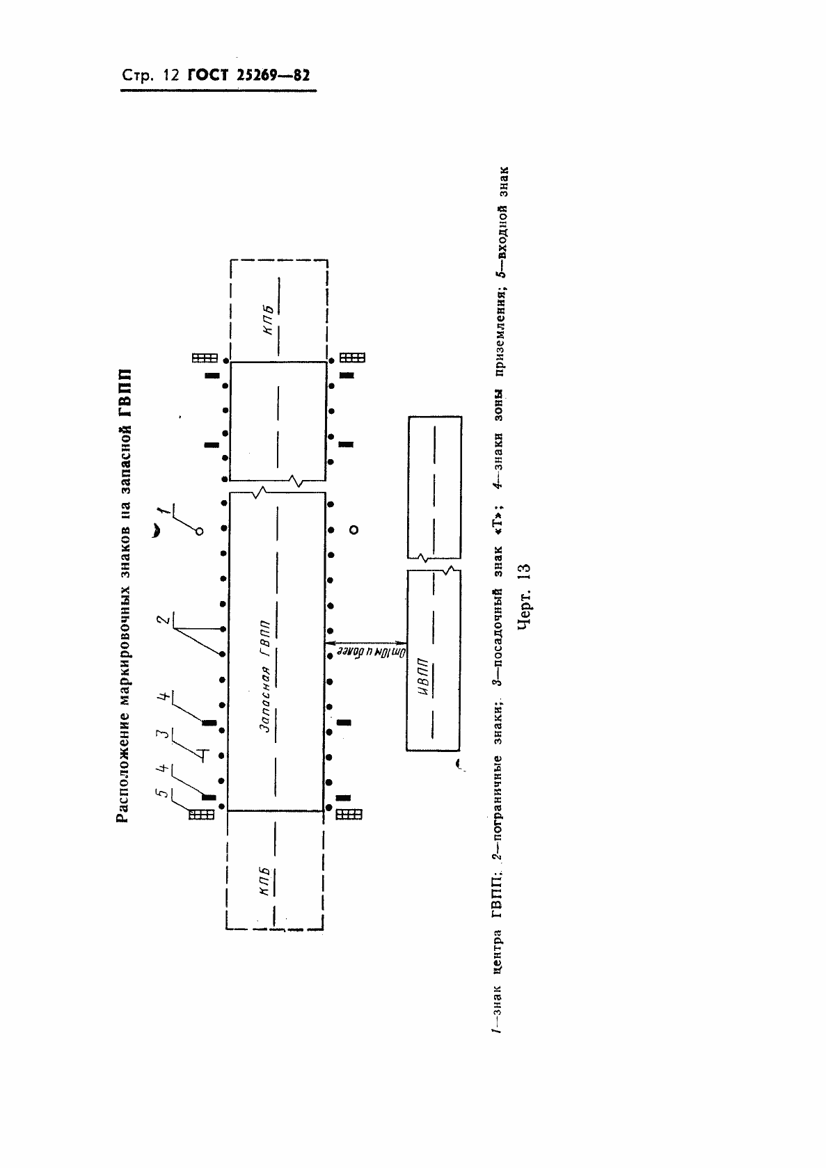
Настоящий стандарт устанавливает требования к дневной маркировке главных, запасных и вспомогательных грунтовых взлетно-посадочных полос, рулежных дорожек, мест стоянок и перронов, а также назначение маркировочных знаков, их размеры, форму, цвет и расположение на грунтовых аэродромах
Связи и замены
Заменяющий:
-
Описание стандарта
ГОСТ 25269-82 Аэродромы. Дневная маркировка грунтовых аэродромов
Страницы стандарта














