ГОСТ IEC 62552-2013 Приборы холодильные бытовые. Технические требования и методы испытаний
ГОСТ МЭК
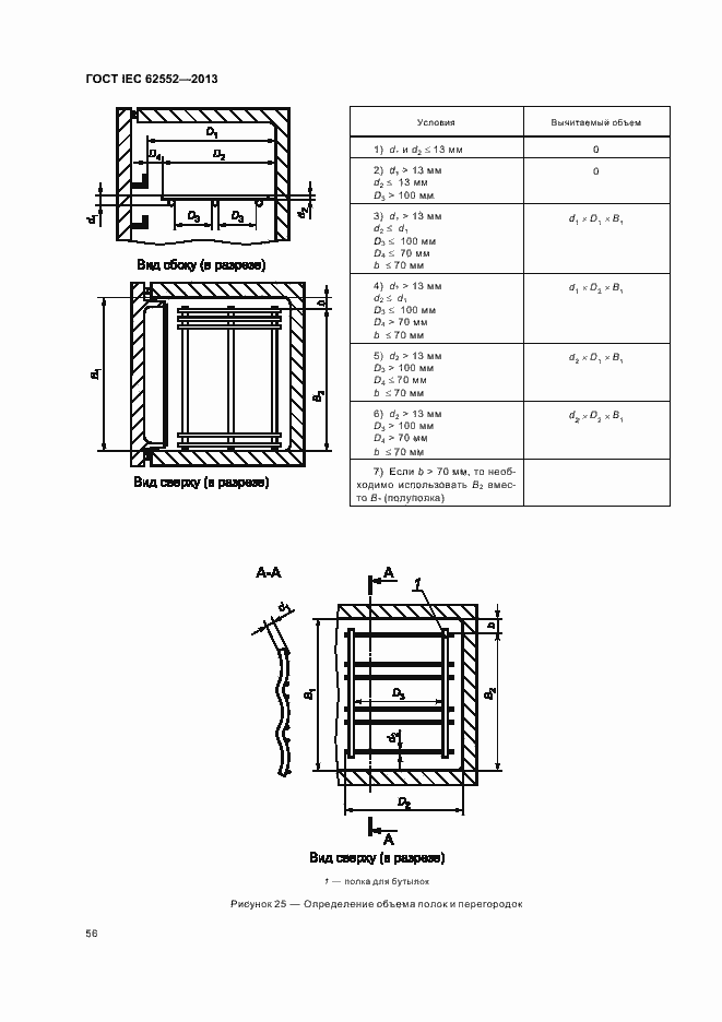
Скачать ГОСТ в PDF или DOC бесплатно
Основная информация
Обозначение:
ГОСТ IEC 62552-2013
Статус:
Действует
Тип:
ГОСТ МЭК
Название русское:
Приборы холодильные бытовые. Технические требования и методы испытаний
Название английское:
Household refrigerating appliances. Characteristics and test methods
Даты и сроки
Дата регистрации:
09-27-13
Дата издания:
07-23-15
Дата введения в действие:
01-01-15
Дата завершения срока действия:
-
Применение и описание
Область и условия применения:
Настоящий стандарт устанавливает технические требования и методы контроля холодильных приборов бытового назначения заводской сборки, охлаждаемых естественной внутренней конвекцией или путем принудительной циркуляции воздуха
Связи и замены
Заменяющий:
-
Описание стандарта
ГОСТ IEC 62552-2013 Приборы холодильные бытовые. Технические требования и методы испытаний
Страницы стандарта






































































Приложение №1: Поправка к ГОСТ IEC 62552-2013 Обозначение: Поправка к ГОСТ IEC 62552-2013 Дата введения в действие: 14.08.2019
