ГОСТ 24788-81 Посуда хозяйственная стальная эмалированная. Общие технические условия
ГОСТ
Скачать ГОСТ в PDF или DOC бесплатно
Основная информация
Обозначение:
ГОСТ 24788-81
Статус:
Заменен
Тип:
ГОСТ
Название русское:
Посуда хозяйственная стальная эмалированная. Общие технические условия
Название английское:
Enamel steel kitchen utensils. General specifications
Даты и сроки
Дата издания:
05-01-97
Дата введения в действие:
01-01-86
Дата завершения срока действия:
09-01-02
Применение и описание
Область и условия применения:
Настоящий стандарт распространяется на хозяйственную стальную эмалированную посуду, используемую для приготовления пищи, хранения и переноски пищевых продуктов, сервировки стола, санитарно-гигиенических и других хозяйственных нужд
Связи и замены
Заменяющий:
ГОСТ 24788-2001
Взамен:
ГОСТ 5.801-75
Изменения и переиздания
Список изменений:
№0 от (рег. ) «Утратил силу в РФ» №1 от (рег. ) «Срок действия продлен» №2 от (рег. ) «Срок действия продлен» №3 от (рег. ) «Срок действия продлен»
Описание стандарта
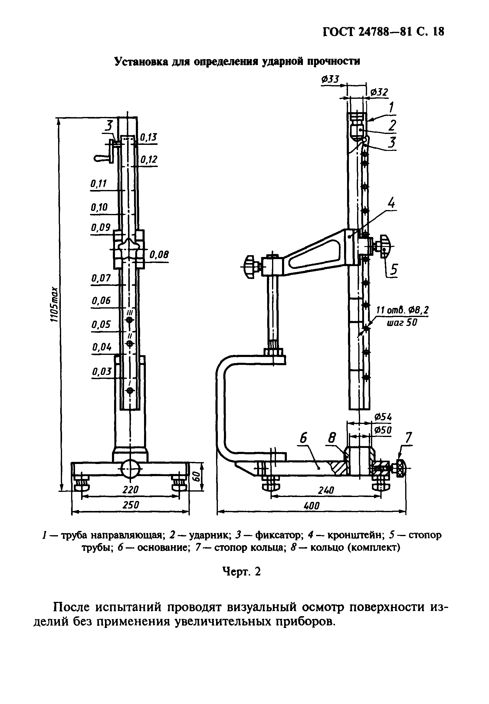
ГОСТ 24788-81 Посуда хозяйственная стальная эмалированная. Общие технические условия
Страницы стандарта



























