ГОСТ Р 51361-99 Машины замкнутого цикла для химической чистки одежды. Методы испытаний
ГОСТ Р
Скачать ГОСТ в PDF или DOC бесплатно
Основная информация
Обозначение:
ГОСТ Р 51361-99
Статус:
Действует
Тип:
ГОСТ Р
Название русское:
Машины замкнутого цикла для химической чистки одежды. Методы испытаний
Название английское:
Closed-circuit dry-cleaning machines. Test methods
Даты и сроки
Дата издания:
01-20-00
Дата введения в действие:
07-01-00
Дата завершения срока действия:
-
Применение и описание
Область и условия применения:
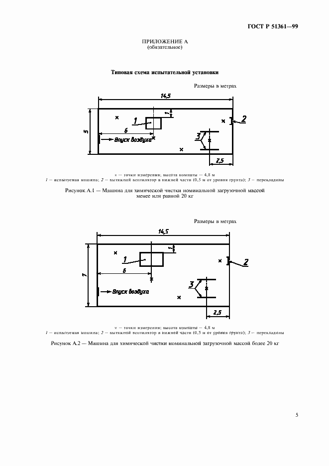
Настоящий стандарт распространяется на машины замкнутого цикла для химической чистки одежды и устанавливает методы определения и проверки следующих характеристик: расхода растворителя, эффективности рекуперации растворителя, концентрации растворителя в атмосфере, окружающей машины
Связи и замены
Заменяющий:
-
Описание стандарта
ГОСТ Р 51361-99 Машины замкнутого цикла для химической чистки одежды. Методы испытаний
Страницы стандарта







