ГОСТ 16569-86 Устройства газогорелочные для отопительных бытовых печей. Технические условия
ГОСТ
Скачать ГОСТ в PDF или DOC бесплатно
Основная информация
Обозначение:
ГОСТ 16569-86
Статус:
Действует
Тип:
ГОСТ
Название русское:
Устройства газогорелочные для отопительных бытовых печей. Технические условия
Название английское:
Burners for domestic gas heaters. Specifications
Даты и сроки
Дата издания:
10-01-06
Дата введения в действие:
06-30-87
Дата завершения срока действия:
-
Применение и описание
Область и условия применения:
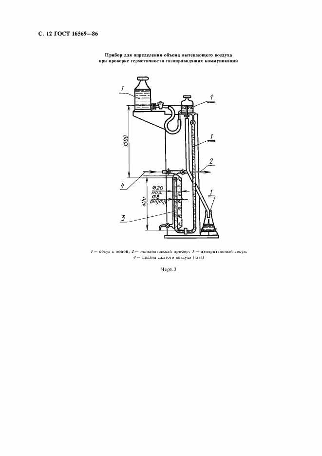
Настоящий стандарт распространяется на газогорелочные инжекционные устройства для отопительных бытовых печей, работающих на природном газе
Связи и замены
Заменяющий:
-
Взамен:
ГОСТ 16569-79;ГОСТ 21308-75
Описание стандарта
ГОСТ 16569-86 Устройства газогорелочные для отопительных бытовых печей. Технические условия
Страницы стандарта













